Caterpillar Схемы деталей/узлов
Каталоги

Ремни безопасности

Просмотр 161 - 176 из 352

212-0964: Ремень в сборе - сиденье

212-0964: Ремень в сборе - сиденье

Ремень безопасности Cat® в сборе (3 дюйма)


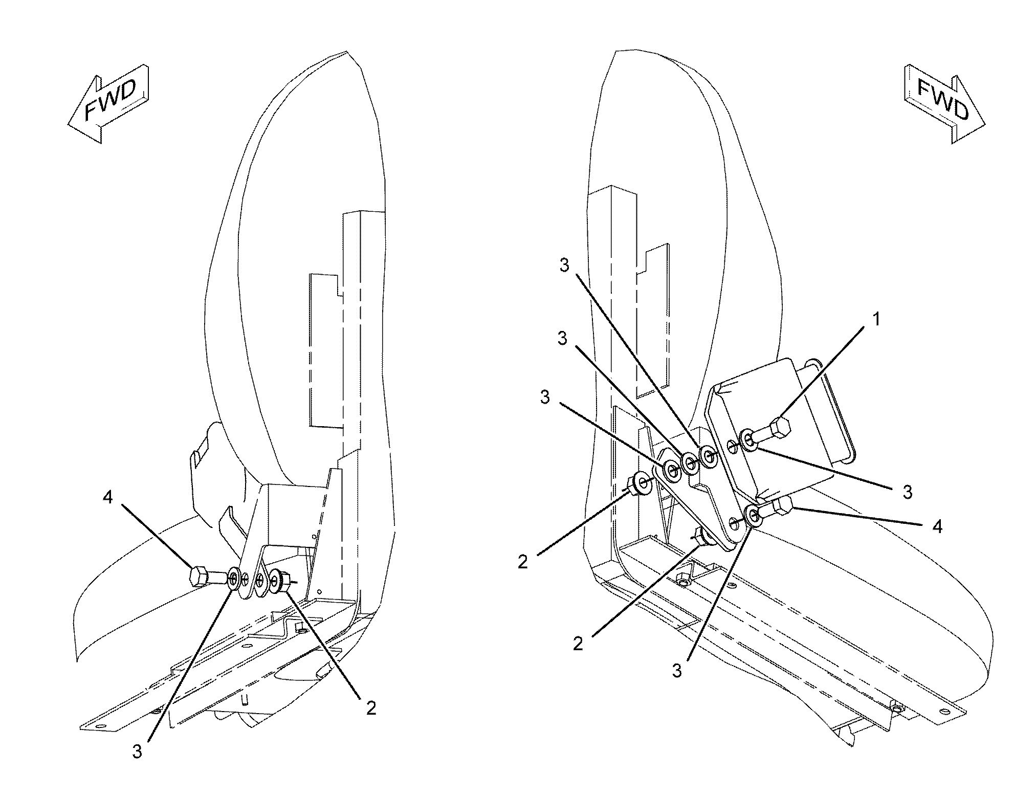
212-4798: РЕМЕНЬ В СБОРЕ

212-4798: РЕМЕНЬ В СБОРЕ

Cat® Operator Seat Steel Strap is used to secure attachment points and keep the operator's seat stab


222-0345: Ремень в сборе - сиденье

222-0345: Ремень в сборе - сиденье

Ремень Cat® в сборе (с инерционной катушкой)


223-7936: Ремень в сборе - сиденье

223-7936: Ремень в сборе - сиденье

Ремень Cat® в сборе (с инерционной катушкой)


223-7937: Ремень в сборе - сиденье

223-7937: Ремень в сборе - сиденье

Ремень Cat® в сборе (с инерционной катушкой)


226-4082: ЛЕНТА УПЛОТНИТЕЛЬНАЯ

226-4082: ЛЕНТА УПЛОТНИТЕЛЬНАЯ

Cat® Retractable Seat Belt provides safety and restraint for machine occupants, keeping them securel


228-1587: БЛОК РЕМНЯ СИДЕНЬЯ

228-1587: БЛОК РЕМНЯ СИДЕНЬЯ

Cat® Suspension Seat Belt helps to enhance operator safety and comfort by securely restraining the o


229-0582: Ремень в сборе - сиденье

229-0582: Ремень в сборе - сиденье

Ремень Cat® в сборе (с инерционной катушкой)


Просмотр 161 - 176 из 352

Обозначение

Обозначение

Заводское исполнение

Эта запчасть разработана в соответствии с характеристиками производителя специально для вашего оборудования Cat.

В случае изменения конфигурации производителя продукт может не подойти к вашему оборудованию Cat. Перед покупкой проконсультируйтесь со своим дилером Cat, чтобы убедиться, что запчасть подходит для оборудования Cat в его текущем состоянии и предполагаемой конфигурации. Этот индикатор не может гарантировать совместимость со всеми запчастями.

Восстановленный

Не подлежит возврату

Набор

Заменен

Восстановленный

Не подлежит возврату

Набор

Заменен