Caterpillar Схемы деталей/узлов
Каталоги
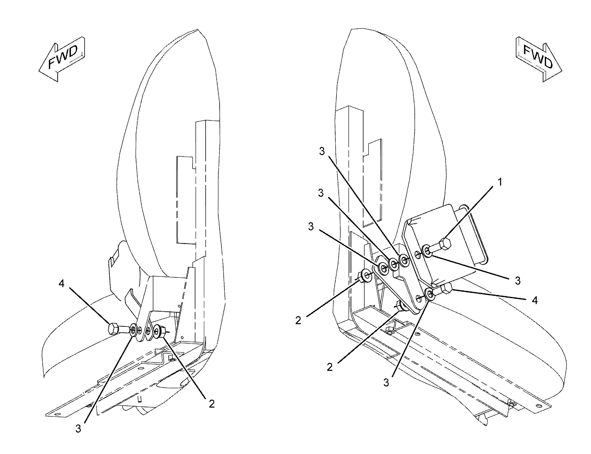
БЛОК РЕМНЯ СИДЕНЬЯ

228-1597: БЛОК РЕМНЯ СИДЕНЬЯ


Заинтересовал товар?

Имя

Почта

Комментарий

Схема

Не найдено

Описание для номера по каталогу 228-1597

Пока нет описания для данного артикула

WarningOutline Предупреждение: При использовании этого изделия можно подвергнуться воздействию различных химических веществ, включая свинец и соединения свинца, которые, как установлено в штате Калифорния, вызывают рак и врожденные дефекты или другие нарушения репродуктивной функции. Дополнительную информацию см. на веб-сайте www.P65Warnings.ca.gov.

Технические характеристики номера по каталогу 228-1597

Не найдено

Совместимые модели для номера по каталогу 228-1597

MINI HYD EXCAVATOR

302.5