Caterpillar Схемы деталей/узлов
Каталоги

Поддерживающие катки

Просмотр 17 - 32 из 56

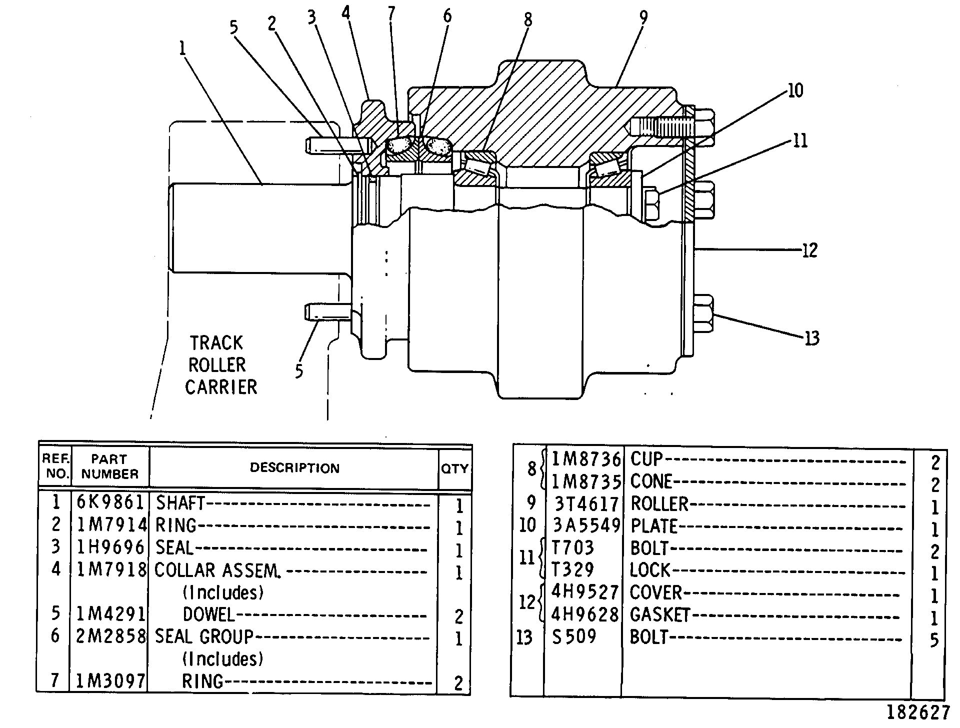
422-0838: Держатель катка в сборе

422-0838: Держатель катка в сборе

Блок поддерживающего катка Cat® (компоновка катка и гусеничной ленты)


428-0056: Поддерживающий каток гусеничной ленты

428-0056: Поддерживающий каток гусеничной ленты

Поддерживающий каток гусеничной ленты


430-4195: Одноребордный поддерживающий каток гусеничной ленты

430-4195: Одноребордный поддерживающий каток гусеничной ленты

Одноребордный поддерживающий каток гусеничной ленты Cat®, диаметр фланца: 275 мм


430-4369: РОЛИК CA

430-4369: РОЛИК CA

Cat® Cold Weather Track Carrier Roller maintains track stability and durability in cold climates, en


449-2274: Поддерживающий каток гусеничной ленты

449-2274: Поддерживающий каток гусеничной ленты

Поддерживающие катки гусеничной ленты общего назначения


474-9145: РОЛИК SF

474-9145: РОЛИК SF

Cat® Single Flange Track Roller provides support and guidance for the track unit, ensuring stability


480-7329: РОЛИК CA

480-7329: РОЛИК CA

Cat® Guarded Track Carrier Roller absorbs the load, minimizing wear and tear while maintaining optim


516-6387: РОЛИК

516-6387: РОЛИК

Cat® Hose Reel Horizontal Roller ensures proper alignment of the hose during winding and unwinding,


516-6491: РОЛИК

516-6491: РОЛИК

Cat® Hose Reel Vertical Roller ensures a smooth rolling surface, allowing the hose reel to rotate ef


300-4545: Блок поддерживающего ролика

300-4545: Блок поддерживающего ролика

Блок поддерживающего ролика Cat®


11R-0081: РОЛИК

11R-0081: РОЛИК

Cat Reman Track Roller (NWC)


134-3010: РОЛИК CA

134-3010: РОЛИК CA

Поддерживающий каток (кованый)


159-8346: БЛОК РОЛИКА

159-8346: БЛОК РОЛИКА

Поддерживающий каток (кованый)


Просмотр 17 - 32 из 56

Обозначение

Обозначение

Заводское исполнение

Эта запчасть разработана в соответствии с характеристиками производителя специально для вашего оборудования Cat.

В случае изменения конфигурации производителя продукт может не подойти к вашему оборудованию Cat. Перед покупкой проконсультируйтесь со своим дилером Cat, чтобы убедиться, что запчасть подходит для оборудования Cat в его текущем состоянии и предполагаемой конфигурации. Этот индикатор не может гарантировать совместимость со всеми запчастями.

Восстановленный

Не подлежит возврату

Набор

Заменен

Восстановленный

Не подлежит возврату

Набор

Заменен