Caterpillar Схемы деталей/узлов
Каталоги
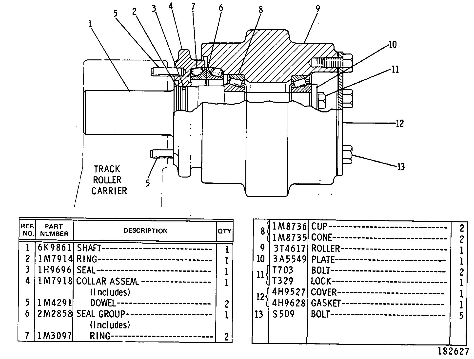
Опорный ролик в сборе

3T-4618: Опорный ролик в сборе

Водило катка


Заинтересовал товар?

Имя

Почта

Комментарий

Схема

Не найдено

Описание для номера по каталогу 3T-4618

Держатели катков поддерживают и направляют машину на гусеничной ленте и обеспечивают натяжение ленты.

WarningOutline Предупреждение: При использовании этого изделия можно подвергнуться воздействию различных химических веществ, включая свинец и соединения свинца, которые, как установлено в штате Калифорния, вызывают рак и врожденные дефекты или другие нарушения репродуктивной функции. Дополнительную информацию см. на веб-сайте www.P65Warnings.ca.gov.

Технические характеристики номера по каталогу 3T-4618

  • Mount Type: Cantilever

  • Application: Standard Application

  • Material: Oil Fluid,Sealants / Adhesives Adhesive

Совместимые модели для номера по каталогу 3T-4618

EXCAVATOR

215