Caterpillar Схемы деталей/узлов
Каталоги

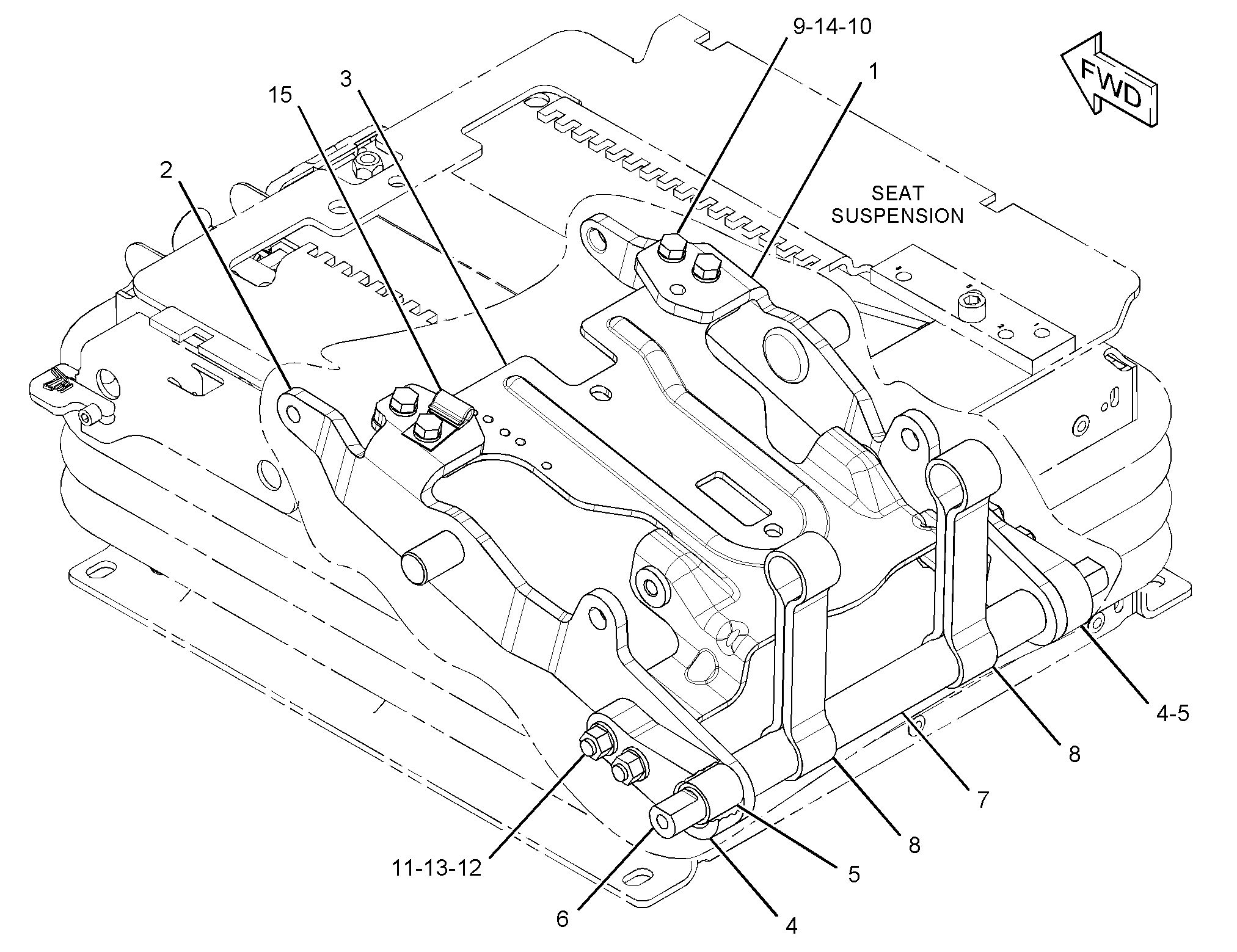
Салон кабины. Модель TRACK LOADER 963K

Просмотр 1 - 16 из 26

291-7980: РЫЧАГ НОЖНИЦ

291-7980: РЫЧАГ НОЖНИЦ

Cat® Seat Suspension Scissor Lift Arm supports the seat suspension system, allowing for adjustable h


6V-8928: Крючок для одежды в кабине оператора

6V-8928: Крючок для одежды в кабине оператора

Крюк кабины Cat® для вертикального крепления


348-2373: БЛОК ПОДВЕСКИ

348-2373: БЛОК ПОДВЕСКИ

Cat® Seat Air Suspension provides a comfortable and adjustable seating experience by utilizing air p


291-8026: ВАЛ

291-8026: ВАЛ

Cat® Upper Rear Shaft (Seat Suspension)


291-8019: ВАЛ

291-8019: ВАЛ

Cat® Toggle Shaft (Seat Suspension)


291-8012: РЫЧАГ В СБОРЕ (ПРАВЫЙ)

291-8012: РЫЧАГ В СБОРЕ (ПРАВЫЙ)

Cat® Left Hand Side Suspension Seat Outer Arm is attached to the toggle and allows the seat to move


291-8010: Подшипник

291-8010: Подшипник

Подшипник Cat® с перекрестным стержнем (подрессоренное сиденье)


213-5168: ИНДИКАТОР РЫЧАГА

213-5168: ИНДИКАТОР РЫЧАГА

Cat® Air Suspension Seat Indicator Plastic Arm helps operators monitor the air pressure level, ensur


348-2405: БЛОК ПОДВЕСКИ

348-2405: БЛОК ПОДВЕСКИ

Cat® 24 Volt Seat Suspension Lateral Isolator acts as a buffer, absorbing sideways shaking and bumps


381-4538: Ремень в сборе - сиденье

381-4538: Ремень в сборе - сиденье

Ремень Cat® в сборе (с инерционной катушкой)


280-3512: КОРПУС РЕГУЛЯТОРА

280-3512: КОРПУС РЕГУЛЯТОРА

Cat® Right Hand Control Console Adjuster Housing provides housing for controls that adjust the right


Просмотр 1 - 16 из 26

Обозначение

Обозначение

Заводское исполнение

Эта запчасть разработана в соответствии с характеристиками производителя специально для вашего оборудования Cat.

В случае изменения конфигурации производителя продукт может не подойти к вашему оборудованию Cat. Перед покупкой проконсультируйтесь со своим дилером Cat, чтобы убедиться, что запчасть подходит для оборудования Cat в его текущем состоянии и предполагаемой конфигурации. Этот индикатор не может гарантировать совместимость со всеми запчастями.

Восстановленный

Не подлежит возврату

Набор

Заменен

Восстановленный

Не подлежит возврату

Набор

Заменен