Caterpillar Схемы деталей/узлов
Каталоги
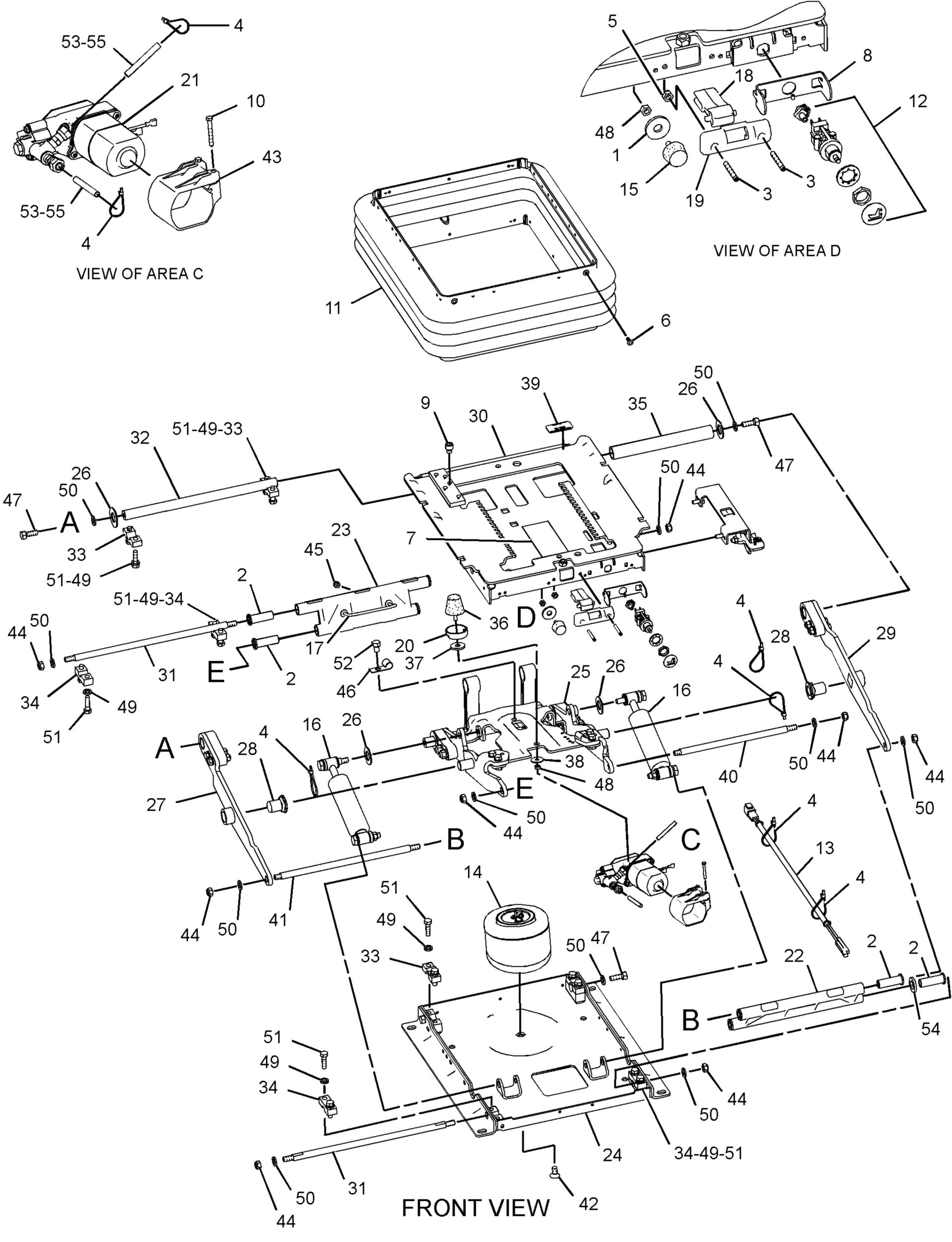
БЛОК ПОДВЕСКИ

354-7510: БЛОК ПОДВЕСКИ


Заинтересовал товар?

Имя

Почта

Комментарий

Схема

Не найдено

Описание для номера по каталогу 354-7510

Пока нет описания для данного артикула

WarningOutline Предупреждение: При использовании этого изделия можно подвергнуться воздействию различных химических веществ, включая свинец и соединения свинца, которые, как установлено в штате Калифорния, вызывают рак и врожденные дефекты или другие нарушения репродуктивной функции. Дополнительную информацию см. на веб-сайте www.P65Warnings.ca.gov.

Технические характеристики номера по каталогу 354-7510

  • Material: Carbon Steel,Sealants / Adhesives Adhesive

Совместимые модели для номера по каталогу 354-7510

TRACK-TYPE TRACTOR

XL LGP D6K D4 D6K2

WHEEL LOADER

966H

TRACK LOADER

953D 973D 963K 963D

PIPELAYER

PL61