Caterpillar Схемы деталей/узлов
Каталоги

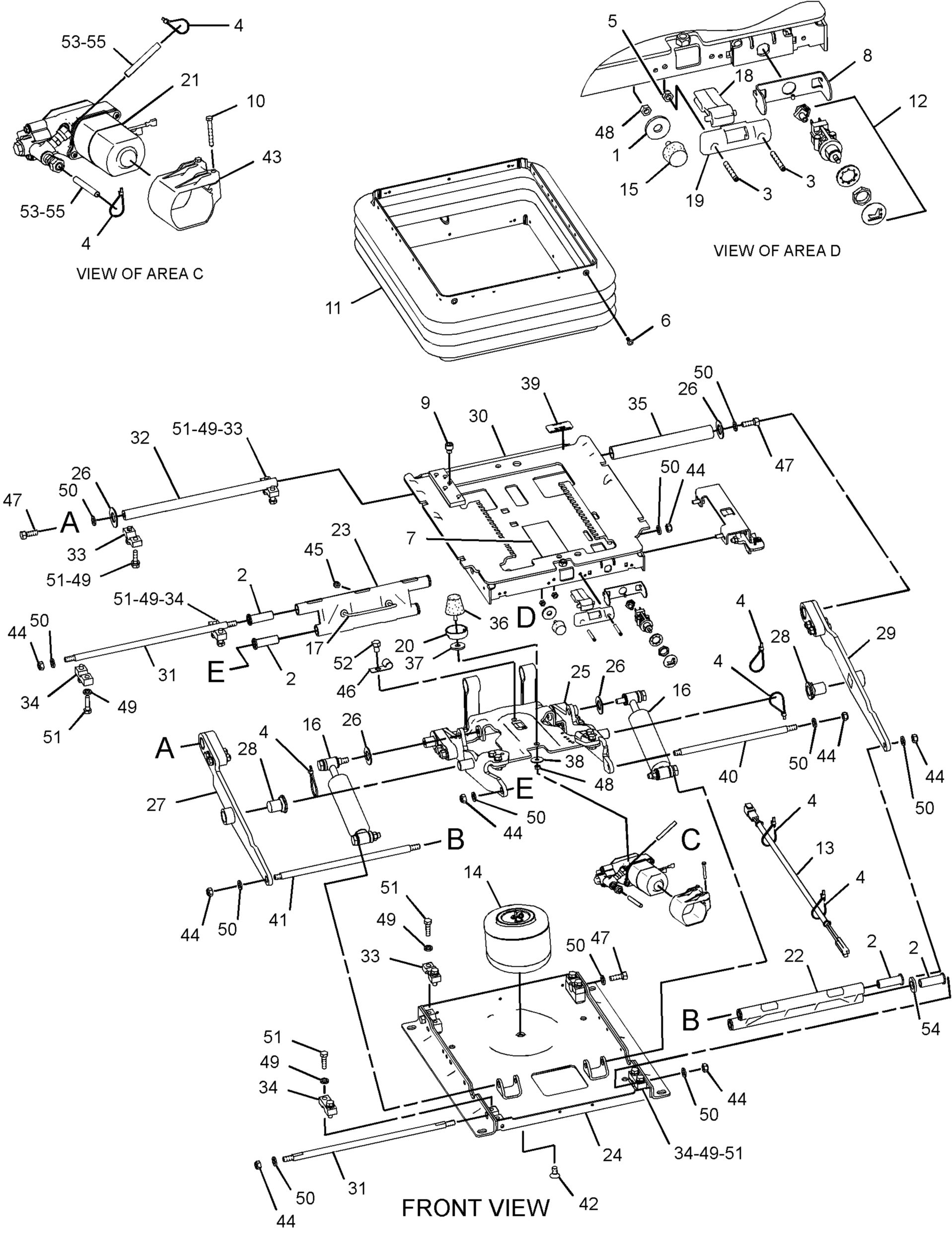
Кабины. Модель TRACK-TYPE TRACTOR D4

Просмотр 1 - 16 из 64

291-8010: Подшипник

291-8010: Подшипник

Подшипник Cat® с перекрестным стержнем (подрессоренное сиденье)


291-8012: РЫЧАГ В СБОРЕ (ПРАВЫЙ)

291-8012: РЫЧАГ В СБОРЕ (ПРАВЫЙ)

Cat® Left Hand Side Suspension Seat Outer Arm is attached to the toggle and allows the seat to move


393-4286: Пластмассовая накладка приборной панели

393-4286: Пластмассовая накладка приборной панели

Накладка приборной панели Cat®, используемая для защиты панели управления на рабочем месте оператора


9U-8263: Крышка кабины, используемая на рабочем месте оператора

9U-8263: Крышка кабины, используемая на рабочем месте оператора

Крышка кабины Cat®, используемая на рабочем месте оператора


336-6672: Рукоятка в сборе

336-6672: Рукоятка в сборе

Рукоятка Cat® в сборе


443-4039: УПЛОТНЕНИЕ

443-4039: УПЛОТНЕНИЕ

Cat® 4mm Thick Window Seal used in Cabin Heater


125-8175: Щетка стеклоочистителя в сборе

125-8175: Щетка стеклоочистителя в сборе

Скребок стеклоочистителя Cat® в сборе (450 мм) (задний)


443-4038: Крышка фильтра, длина 318 мм

443-4038: Крышка фильтра, длина 318 мм

Крышка фильтра кондиционера воздуха Cat® закрывает фильтр кондиционера, обеспечивая чистоту воздухоз


422-2152: Вентиляционные жалюзи длиной 143 мм для воздуховода устройства распределения тепла

422-2152: Вентиляционные жалюзи длиной 143 мм для воздуховода устройства распределения тепла

Вентиляционные жалюзи Cat® длиной 143 мм для воздуховода устройства распределения тепла


8Y-6974: Ручка двери кабины

8Y-6974: Ручка двери кабины

Ручка двери кабины Cat®, ВД X НД X Д: 5 Х 29 Х 19 мм


335-7022: УПЛОТНЕНИЕ ОПТОМ

335-7022: УПЛОТНЕНИЕ ОПТОМ

Cat® Radiator Bulk Seal seals the gap between the radiator and the radiator guard, preventing debris


535-8873: ЗВУКОВОЙ СИГНАЛ В СБОРЕ

535-8873: ЗВУКОВОЙ СИГНАЛ В СБОРЕ

Cat® Low Tone Electric Horn is a signaling device to produces a loud, audible sound to alert others


Просмотр 1 - 16 из 64

Обозначение

Обозначение

Заводское исполнение

Эта запчасть разработана в соответствии с характеристиками производителя специально для вашего оборудования Cat.

В случае изменения конфигурации производителя продукт может не подойти к вашему оборудованию Cat. Перед покупкой проконсультируйтесь со своим дилером Cat, чтобы убедиться, что запчасть подходит для оборудования Cat в его текущем состоянии и предполагаемой конфигурации. Этот индикатор не может гарантировать совместимость со всеми запчастями.

Восстановленный

Не подлежит возврату

Набор

Заменен

Восстановленный

Не подлежит возврату

Набор

Заменен