Caterpillar Схемы деталей/узлов
Каталоги
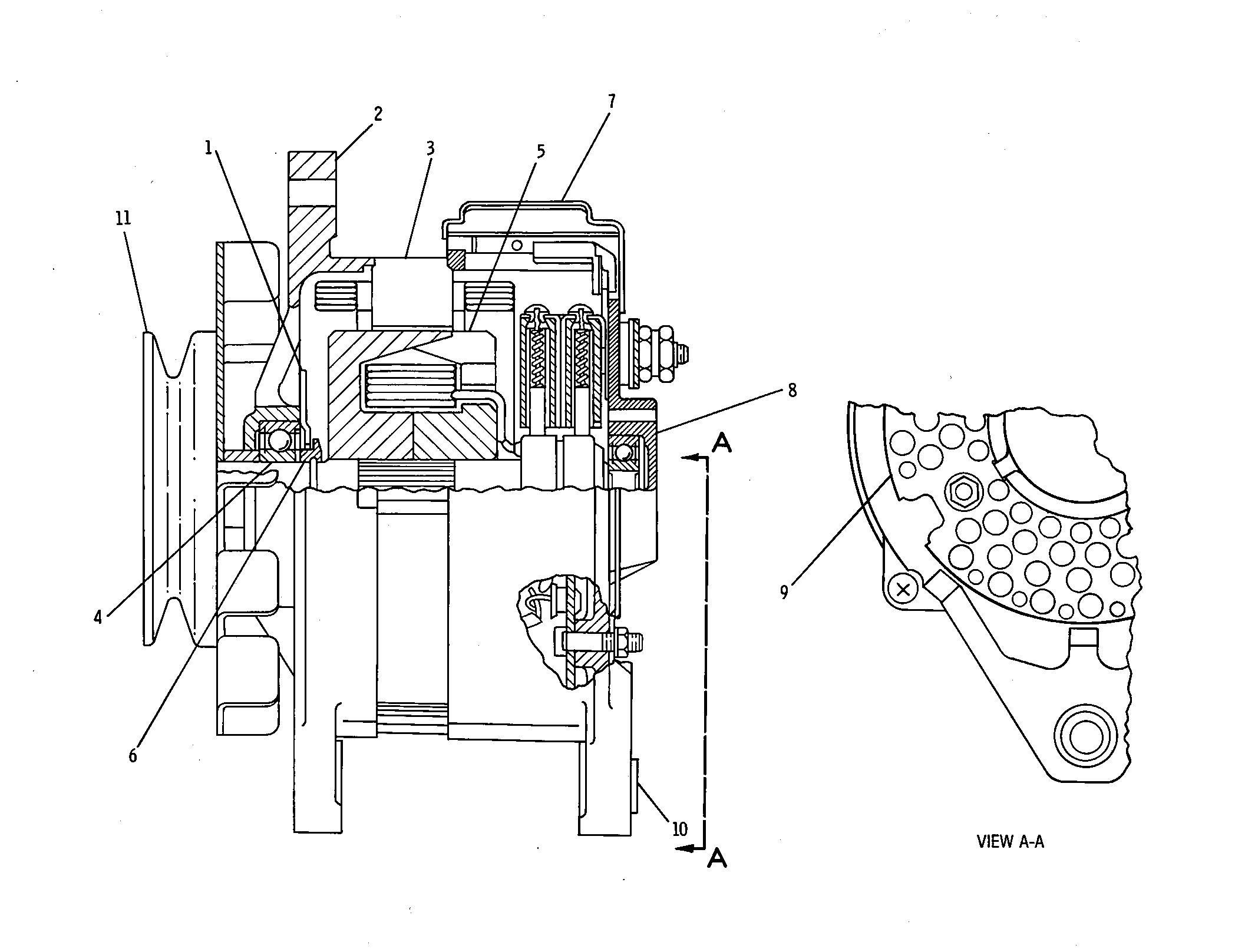
БЛОК ГЕНЕРАТОРА

8N-2268: БЛОК ГЕНЕРАТОРА

Cat® Alternator Group (12V)(75A)


Заинтересовал товар?

Имя

Почта

Комментарий

Схема

Не найдено

Описание для номера по каталогу 8N-2268

Description:
Cat Alternators are designed to energize the battery to power your machine, regardless of operating conditions. They are proven top-notch tough, durable and reliable, even at low idle. There are two categories: Brush-Type Design uses one-piece brushes for less maintenance, and constant-pressure springs for even brush wear; and our Brushless Design, with fewer moving parts, tighter air gap tolerances and superior sealing for longer life in harsh environments (dirt, dust, heat or cold). Cat Alternators are quiet, compact, and lightweight, designed to be part of a balanced electrical system, and each unit is rigorously tested, so you know you’re getting genuine Cat reliability. Off-the-shelf availability minimizes your down time.

Attributes:
• Material: Aluminum Casting
• Electronic voltage regulators and a high-efficiency cooling system are built in.
• High-efficiency cooling system
• Brush type alternators use one-piece brushes and constant pressure springs for even brush wear.
• Our off-the-shelf availability minimizes downtime and gets you up and running fast.
• You’re buying less downtime and lower repair bills, helping you achieve the lowest owning and operating costs over your engine’s lifecycle.

Application:
Consult your owner's manual or contact your local Cat Dealer for more information.

WarningOutline Предупреждение: При использовании этого изделия можно подвергнуться воздействию различных химических веществ, включая свинец и соединения свинца, которые, как установлено в штате Калифорния, вызывают рак и врожденные дефекты или другие нарушения репродуктивной функции. Дополнительную информацию см. на веб-сайте www.P65Warnings.ca.gov.

Технические характеристики номера по каталогу 8N-2268

  • Material Description: Aluminum Casting

  • Brush/Brushless: Brush Type

  • Marine Approved: No

  • Rated Output (amps): 75

  • Voltage (volts): 12

  • Mount Type: SAE J180

  • Number of Poles: 3

  • Material: Alloy Aluminum

Совместимые модели для номера по каталогу 8N-2268

TRACK-TYPE TRACTOR

D3B

BACKHOE

D3 931

BULLDOZER

3S 3P