Caterpillar Схемы деталей/узлов
Каталоги
Компрессор

3E-7704: Компрессор

Компрессор хладагента Cat® (12 В, муфта)


Заинтересовал товар?

Имя

Почта

Комментарий

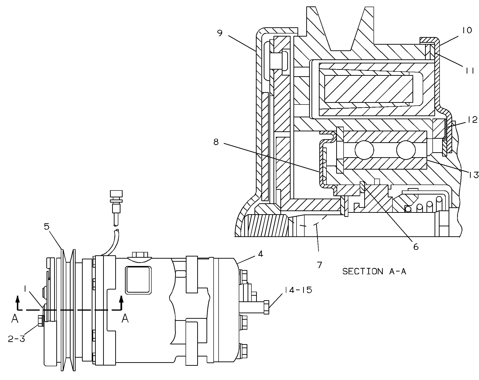
Схема

Не найдено

Описание для номера по каталогу 3E-7704

Описание.
Система ОВКВ обеспечивает прогрев, охлаждение и фильтрацию свежего и/или рециркулированного воздуха в кабине оператора машины Cat. Компрессоры Cat создают давление для поддержания расхода и увеличения давления, необходимого для конкретного применения.

Характеристики.
• 5-цилиндровый компрессор.
• Напряжение муфты: 12 В.
• Тип ремня: A.
• Совместимость хладагента: R12.
• Со жгутом проводов с 2-контактным разъемом DT.
• Рекомендуемая частота вращения: 2500 ± 200 об/мин.
• Макс. частота вращения: 4000 об/мин.
• Только для систем с выключателем низкого давления на стороне высокого давления.

Применение.
Компрессор используется для обеспечения циркуляции хладагента по всей системе ОВКВ в тяжелом оборудовании Cat. Для получения дополнительной информации см. руководство по техническому обслуживанию или обратитесь к местному дилеру Cat.

WarningOutline Предупреждение: При использовании этого изделия можно подвергнуться воздействию различных химических веществ, включая свинец и соединения свинца, которые, как установлено в штате Калифорния, вызывают рак и врожденные дефекты или другие нарушения репродуктивной функции. Дополнительную информацию см. на веб-сайте www.P65Warnings.ca.gov.

Технические характеристики номера по каталогу 3E-7704

  • Длина (мм): 31,7 (ход поршня)

  • Наружный диаметр (дюймы): 5,4

  • Габаритная длина (дюймы): 9,6

  • Длина (дюймы): 1,2 (ход поршня)

  • Напряжение (В перем. тока): 12 (В пост. тока)

  • Наружный диаметр (мм): 138,5

  • Габаритная длина (мм): 245

  • Диаметр отверстия (мм): 36

  • Штоки: 2 -

  • Диаметр отверстия (дюймы): 1,4

  • Material: Alloy Aluminum

Совместимые модели для номера по каталогу 3E-7704

CHALLENGER

65C 75C 65D

BACKHOE LOADER

446B 426B 428B 416B 438B