Caterpillar Схемы деталей/узлов
Каталоги
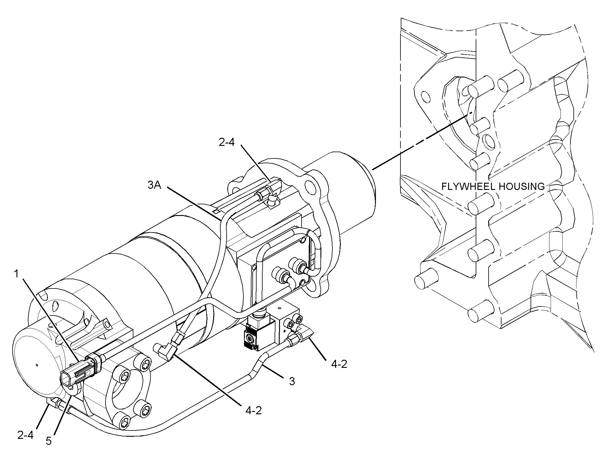
Пневматический стартер

382-9606: Пневматический стартер

Двигатель воздушного запуска Cat® использует сжатый воздух для запуска двигателя внутреннего сгорани


Заинтересовал товар?

Имя

Почта

Комментарий

Схема

Не найдено

Описание для номера по каталогу 382-9606

Описание:
Двигатели Cat air starting используют воздух из окружающей среды для выработки пусковой мощности двигателя. Двигатели Cat air starting являются гибкой и эффективной альтернативой электрическим источникам питания.

Характеристики:
• Включает пневмодвигателе, клапане реле, электромагнитном клапане и блоке управления.
• Стандартное вращение
• Герметичный для использования в системах с воздухом или газом
• Возможность обслуживания с комплектом для ремонта

Применение:
Пневматические стартеры Cat обычно применяются в больших промышленных и судовых двигателях.

WarningOutline Предупреждение: При использовании этого изделия можно подвергнуться воздействию различных химических веществ, включая свинец и соединения свинца, которые, как установлено в штате Калифорния, вызывают рак и врожденные дефекты или другие нарушения репродуктивной функции. Дополнительную информацию см. на веб-сайте www.P65Warnings.ca.gov.

Технические характеристики номера по каталогу 382-9606

  • Размер резьбы отверстия: 1-1/2 NPT (впуск)

  • Длина (мм): 486,2

  • Количество зубьев: 11

  • Длина (дюймы): 19,1

  • Тип фланца: Монтажный фланец SAE 3

  • Диаметр фланца (дюймы): 3,6

  • Диаметр фланца (мм): 92

  • Material: Carbon Steel

Совместимые модели для номера по каталогу 382-9606

INDUSTRIAL ENGINE

3512 3508