Caterpillar Схемы деталей/узлов
Каталоги
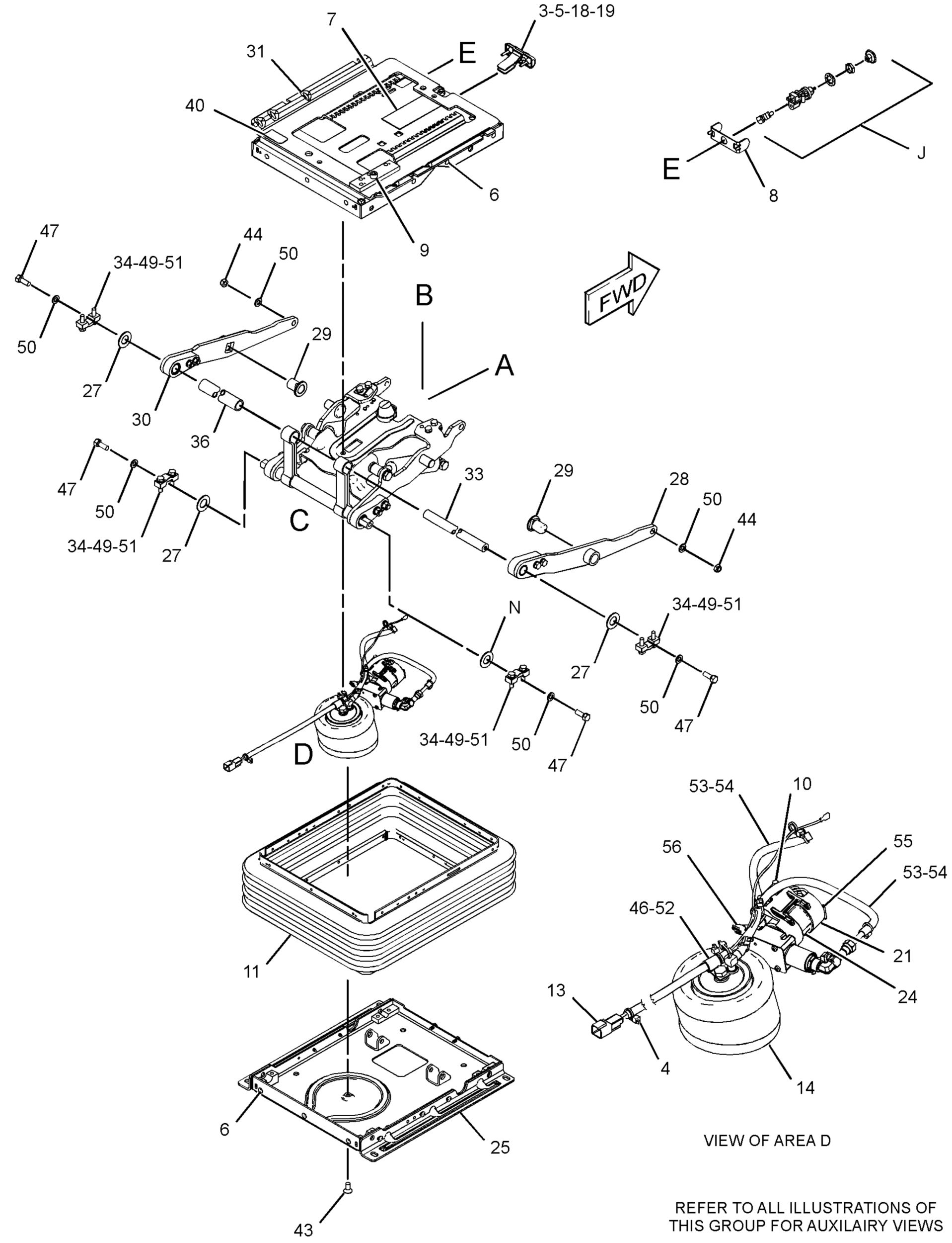
Подвеска в сборе — сиденье

316-8368: Подвеска в сборе — сиденье

Подрессоренное сиденье Cat® (пневматика) (12 В)


Заинтересовал товар?

Имя

Почта

Комментарий

Схема

Не найдено

Описание для номера по каталогу 316-8368

Описание.
Сиденья Cat обеспечивают эргономичность посадки операторов машин. Подрессоренные сиденья оборудованы системой подвески с амортизацией и регулируются для удобства оператора с применением органов ручного управления и педалей. Пневматические подвески Cat используют пневматические приводы для движения сидений для снижения вибрации и регулировки сидений. Услуги и запасные части Cat позволяют легко обслуживать системы сидений Cat на месте эксплуатации. Качество оборудования соответствует жестким требованиям.

Характеристики.
• Пневматическая подвеска
• Крышка подвески
• Индикатор зоны движения с передним креплением и независимая рукоять бокового изолятора
• Механизмы регулировки в передней правой части
• Регулируемый рычаг амортизатора
• Регулировка высоты
• Общий ход 152 мм (6 дюймов)

Назначение.
Обслуживание или замена подвески, применяемой в системах подрессоренных сидений машин Cat. Дополнительную информацию можно найти в руководстве по техническому обслуживанию либо запросить у местного дилера компании Cat.

WarningOutline Предупреждение: При использовании этого изделия можно подвергнуться воздействию различных химических веществ, включая свинец и соединения свинца, которые, как установлено в штате Калифорния, вызывают рак и врожденные дефекты или другие нарушения репродуктивной функции. Дополнительную информацию см. на веб-сайте www.P65Warnings.ca.gov.

Технические характеристики номера по каталогу 316-8368

  • Габаритная ширина (мм): 415

  • Габаритная длина (дюймы): 17

  • Описание материала: Сталь

  • Напряжение (В перем. тока): 12

  • Общая высота (дюймы): 7 (средняя высота)

  • Габаритная длина (мм): 431

  • Общая высота (мм): 170 (средняя высота)

  • Габаритная ширина (дюймы): 16,3

  • Material: Carbon Steel,Sealants / Adhesives Adhesive

Совместимые модели для номера по каталогу 316-8368

TRACK-TYPE TRACTOR

D3K2 XL D4K2 LGP D5K2 D5K D3K D4K