Caterpillar Схемы деталей/узлов
Каталоги
БЛОК ЭЛЕКТРОДВИГАТЕЛЯ STG

311-8105: БЛОК ЭЛЕКТРОДВИГАТЕЛЯ STG

Cat® Turbine Air Starter Motor for Clockwise Rotation with 11 Teeth Pinion and 3 Hole Mount Flange


Заинтересовал товар?

Имя

Почта

Комментарий

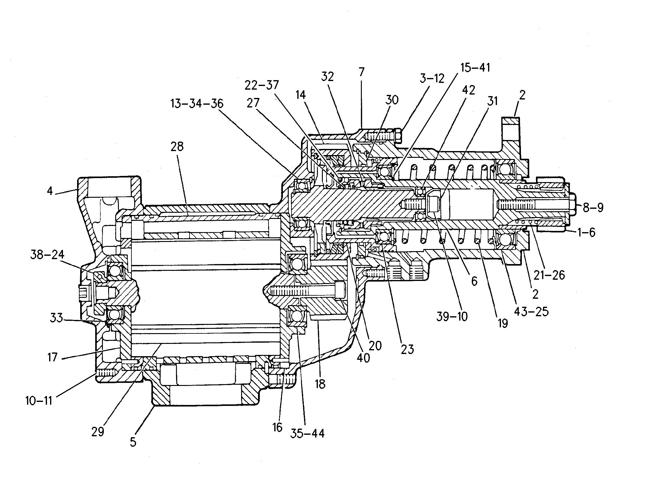
Схема

Не найдено

Описание для номера по каталогу 311-8105

The Turbine Air Starter Motor is powered by compressed air. When engaged, it will rotate the engine's crankshaft in a clockwise direction, as viewed from the front of the engine. The pinion gear is responsible for engaging the engine's flywheel and transferring the rotational force from the air starter motor to the engine's crankshaft. The flange provides a sturdy and secure attachment point to the engine's mounting surface.

Attributes:
• Generates high torque, even at low speeds
• Vanes that are forced outward by the compressed air, generating torque and causing the motor to rotate

Applications:
The Turbine Air Starter Motor is designed to start engines.

WarningOutline Предупреждение: При использовании этого изделия можно подвергнуться воздействию различных химических веществ, включая свинец и соединения свинца, которые, как установлено в штате Калифорния, вызывают рак и врожденные дефекты или другие нарушения репродуктивной функции. Дополнительную информацию см. на веб-сайте www.P65Warnings.ca.gov.

Технические характеристики номера по каталогу 311-8105

Не найдено

Совместимые модели для номера по каталогу 311-8105

GEN SET ENGINE

3516

MARINE ENGINE

3516

INDUSTRIAL ENGINE

3516