Caterpillar Схемы деталей/узлов
Каталоги
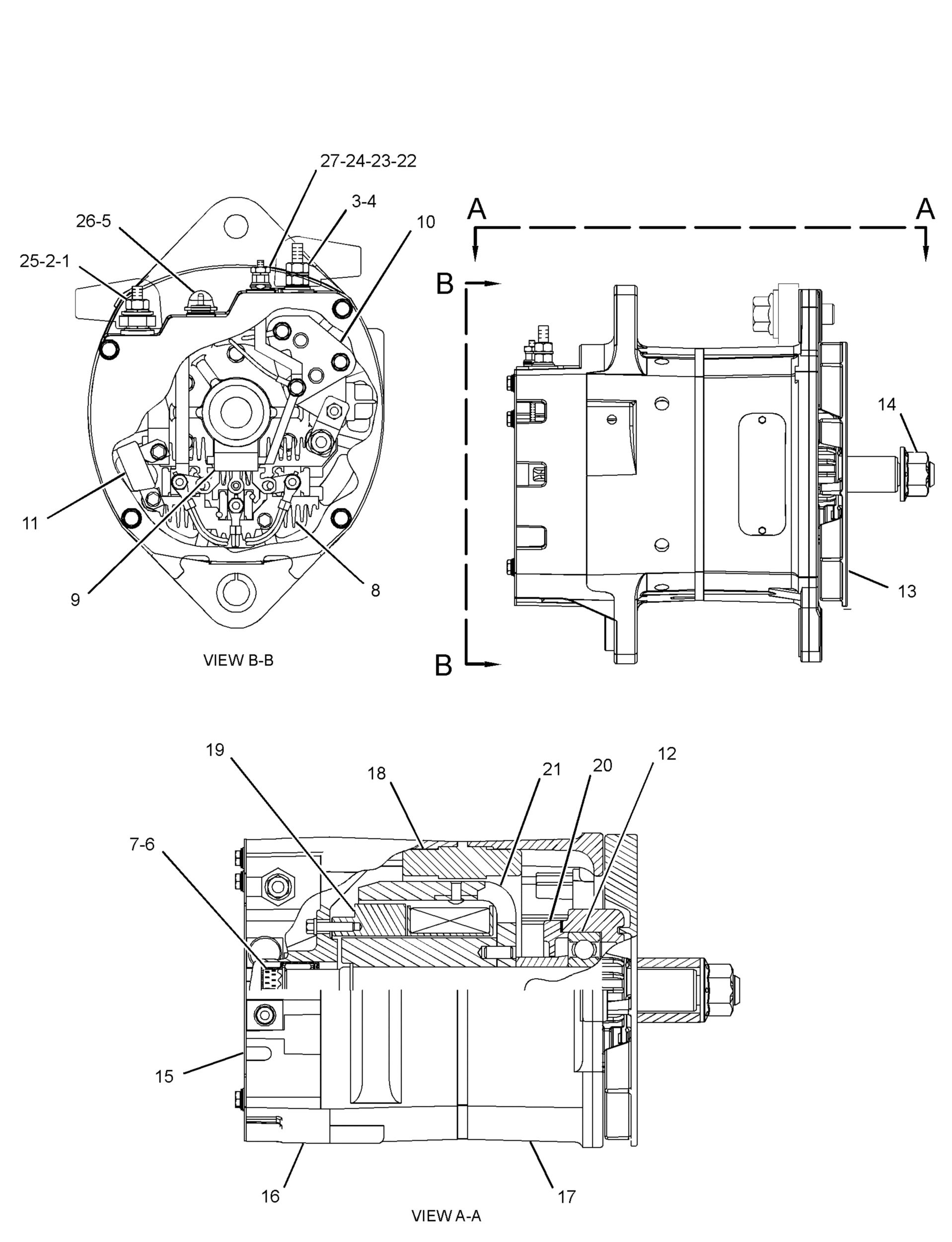
БЛОК ГЕНЕРАТОРА

266-7228: БЛОК ГЕНЕРАТОРА

Cat® 32 Volt 10 Ampere Charging Alternator


Заинтересовал товар?

Имя

Почта

Комментарий

Схема

Не найдено

Описание для номера по каталогу 266-7228

A Charging Alternator is designed to generate an electrical power supply to charge the Battery and Supply electricity to the Parts that require electricity in a machine. It consists of parts including stator, rotor, rectifier, voltage regulator, and Fan. During the operation, the Charging Alternator utilizes the mechanical power from the engine to rotate the rotor, which creates a changing magnetic field in the stator windings. This induces an AC in the stator windings, which is then rectified to DC by the rectifier.

Attributes:
• Helps maintain a stable output voltage
• Ensures consistent power supply

Applications:
A Charging Alternator is used to maintain the machine's electrical unit functioning and keep the Battery Charged.

WarningOutline Предупреждение: При использовании этого изделия можно подвергнуться воздействию различных химических веществ, включая свинец и соединения свинца, которые, как установлено в штате Калифорния, вызывают рак и врожденные дефекты или другие нарушения репродуктивной функции. Дополнительную информацию см. на веб-сайте www.P65Warnings.ca.gov.

Технические характеристики номера по каталогу 266-7228

  • Material: Alloy Aluminum

Совместимые модели для номера по каталогу 266-7228

MARINE ENGINE

3406B 3412

ENGINE - INDUSTRIAL

3406B

INDUSTRIAL ENGINE

3412 3406C 3408B

ENGINE - MACHINE

3408