Caterpillar Схемы деталей/узлов
Каталоги
Сиденье в сборе (подвеска)

233-7388: Сиденье в сборе (подвеска)

Подрессоренное сиденье в сборе Cat®


Заинтересовал товар?

Имя

Почта

Комментарий

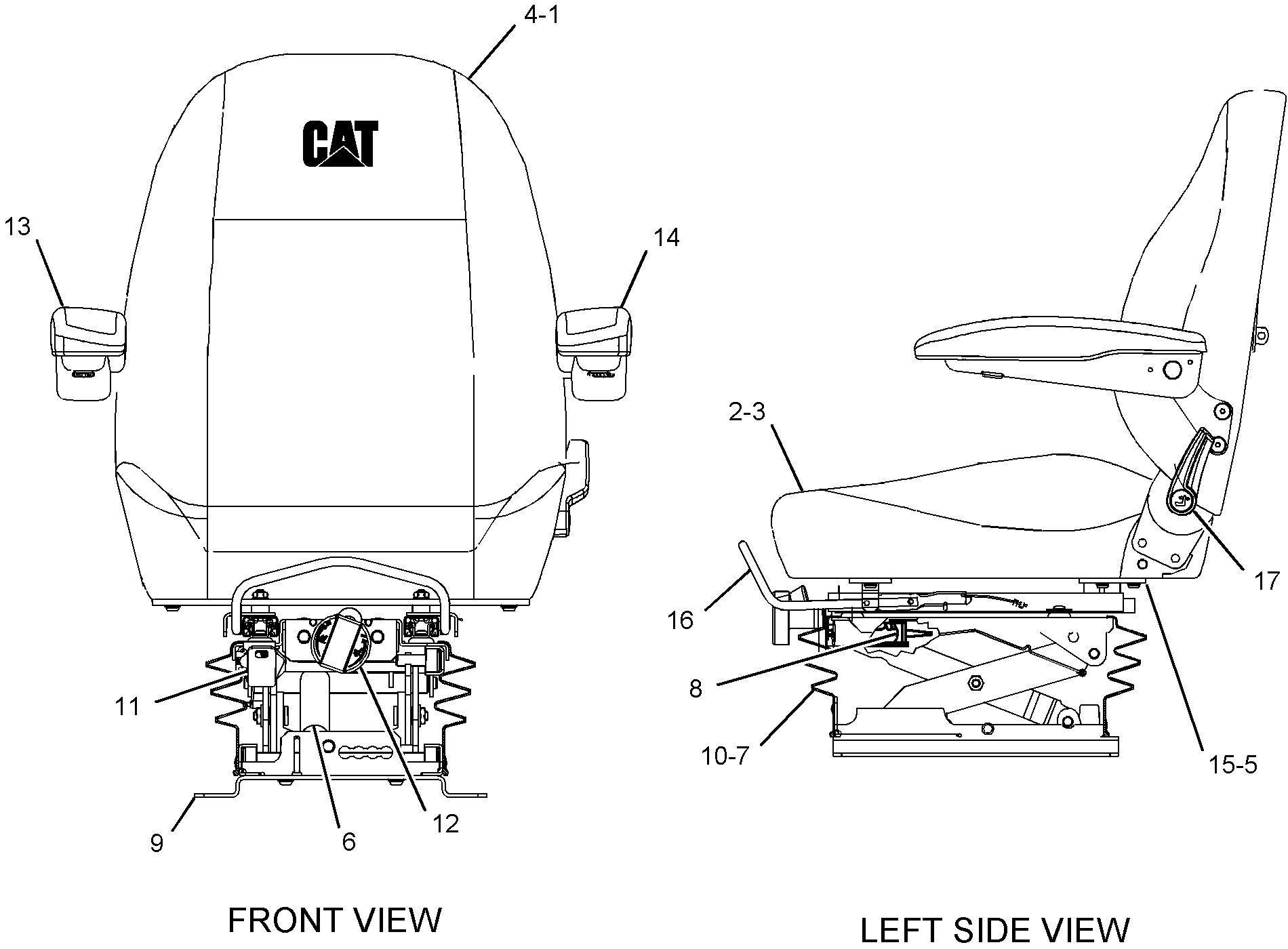
Схема

Не найдено

Описание для номера по каталогу 233-7388

Описание
Сиденья Cat в сборе обеспечивают эргономичность посадки операторов машин. Подрессоренные сиденья оборудованы системой подвески с амортизацией и регулируются для удобства оператора с применением органов ручного управления и педалей. Качество соответствует суровым условиям эксплуатации.

Характеристики
• Сиденье с тканевой обивкой в сборе с логотипом Cat на спинке.
• Регулируемые подлокотники.
• Продольная регулировка.
• Регулировка угла наклона спинки.
• Регулировка высоты.
• Регулировка под вес тела оператора.
• Прочное, легко чистящееся покрытие

Назначение
Используется в качестве рассчитанного на тяжелую нагрузку, надежного сиденья оператора для машин Cat. Для получения дополнительной информации обратитесь к руководству пользователя или к местному дилеру Cat.

WarningOutline Предупреждение: При использовании этого изделия можно подвергнуться воздействию различных химических веществ, включая свинец и соединения свинца, которые, как установлено в штате Калифорния, вызывают рак и врожденные дефекты или другие нарушения репродуктивной функции. Дополнительную информацию см. на веб-сайте www.P65Warnings.ca.gov.

Технические характеристики номера по каталогу 233-7388

  • Габаритная ширина (мм): 629

  • Габаритная длина (дюймы): 31,63

  • Общая высота (дюймы): 24,41

  • Габаритная длина (мм): 803,5

  • Общая высота (мм): 620

  • Габаритная ширина (дюймы): 24,76

  • Material: Carbon Steel

Совместимые модели для номера по каталогу 233-7388

INTEGRATED TOOLCARRIER

IT28G IT14G

WHEEL LOADER

928G 928HZ 924H 924G 930H 924GZ 924HZ

COMPACT WHEEL LOADER

914G