Caterpillar Схемы деталей/узлов
Каталоги
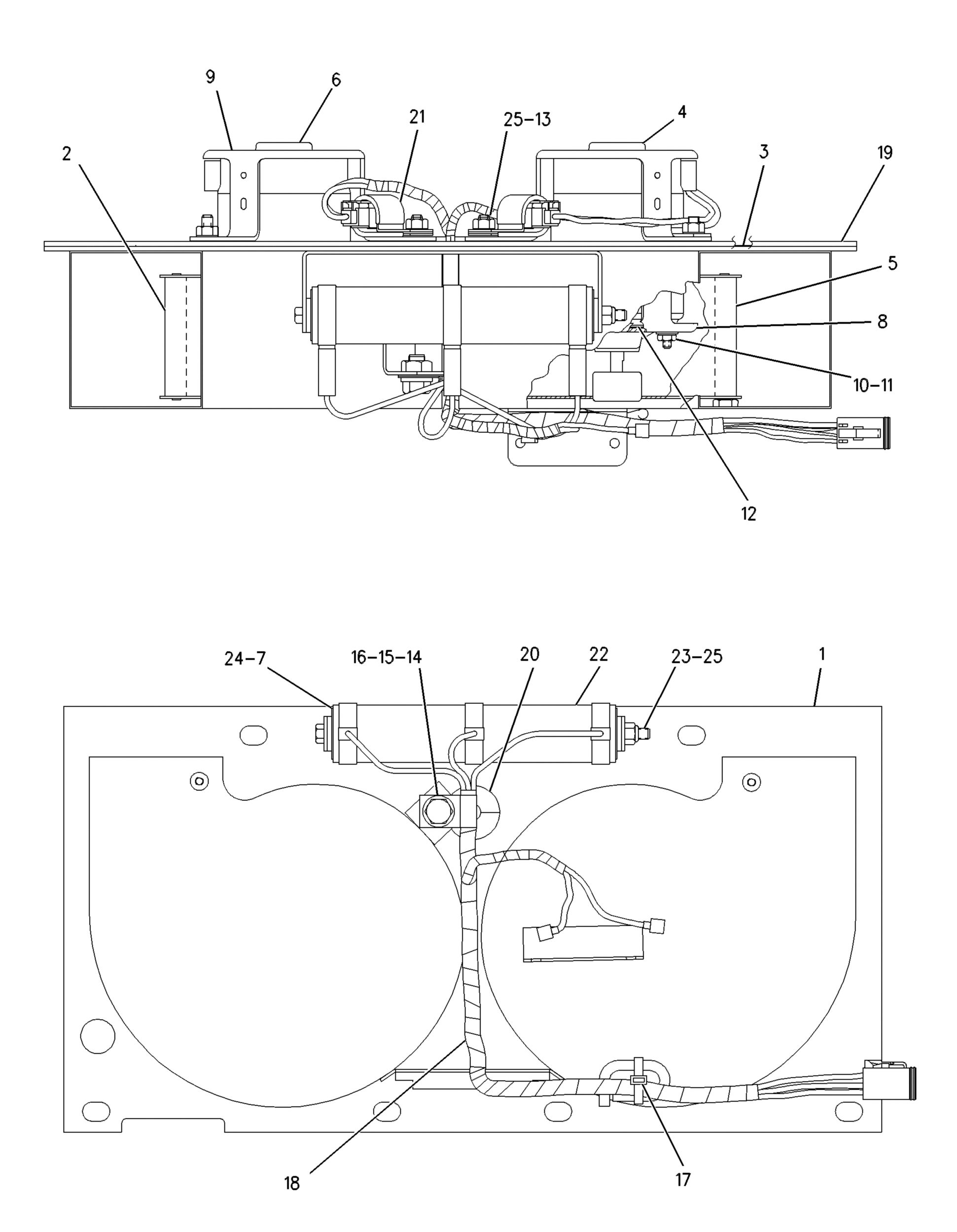
БЛОК НАГНЕТАТЕЛЬНОГО ВЕНТИЛЯТОРА

109-5762: БЛОК НАГНЕТАТЕЛЬНОГО ВЕНТИЛЯТОРА

Cat® Cab Blower is a ventilation system designed to provide a controlled flow of air for climate con


Заинтересовал товар?

Имя

Почта

Комментарий

Схема

Не найдено

Описание для номера по каталогу 109-5762

The Cab Blower is an integral part of the ventilation system positioned within the cabin, this component is responsible for drawing in outside air and circulating it to maintain a comfortable and controlled environment for the operator. It is equipped with adjustable speed settings, the cab blower ensures efficient air distribution for both heating and cooling applications.

Attributes:
• Draws in outside air for climate control.
• Adjustable speed settings for controlled air distribution.
• Enhances operator comfort during extended use.

Applications:
The Cab Blower is used to ensure a comfortable and well-ventilated environment for operators, regardless of external weather conditions.

WarningOutline Предупреждение: При использовании этого изделия можно подвергнуться воздействию различных химических веществ, включая свинец и соединения свинца, которые, как установлено в штате Калифорния, вызывают рак и врожденные дефекты или другие нарушения репродуктивной функции. Дополнительную информацию см. на веб-сайте www.P65Warnings.ca.gov.

Технические характеристики номера по каталогу 109-5762

Не найдено

Совместимые модели для номера по каталогу 109-5762

TRACK-TYPE TRACTOR

D7R D6R D5M D6M