Caterpillar Схемы деталей/узлов
Каталоги

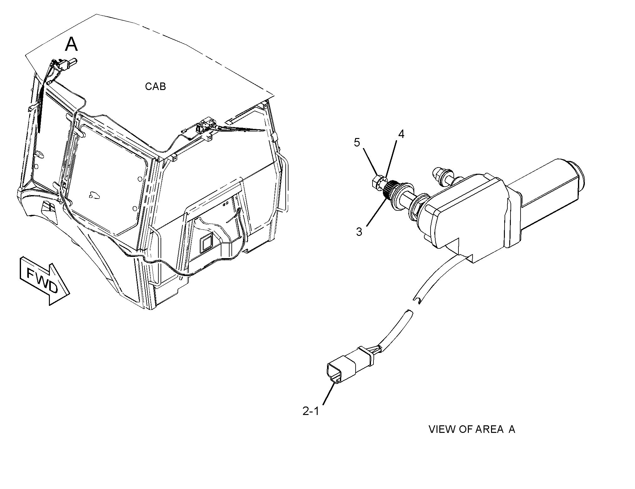
Видимость из кабины. Модель BACKHOE LOADER 420E

Просмотр 1 - 16 из 23

283-3451: Разъем в сборе (90 градусов)

283-3451: Разъем в сборе (90 градусов)

Проходные разъемы Cat® в сборе, 90 градусов (стеклоочистители)


6T-1375: Насос стеклоомывателя, 12 В

6T-1375: Насос стеклоомывателя, 12 В

Пластмассовый насос для стеклоомывателя Cat® 12 В, используемый в кабине оператора


309-9401: СТЕКЛО

309-9401: СТЕКЛО

Cat® 7.2mm Thick Cabin Rear Glass serves to reduce glare and heat transmission while maintaining opt


330-5022: ЭЛЕКТРОДВИГАТЕЛЬ СТЕКЛООЧИСТИТЕЛЯ

330-5022: ЭЛЕКТРОДВИГАТЕЛЬ СТЕКЛООЧИСТИТЕЛЯ

Cat® Window Wiper Motor is used to power the wiper arms, causing them to move back and forth across


214-3763: Бак стеклоомывателя в сборе

214-3763: Бак стеклоомывателя в сборе

Резервуар стеклоомывающей жидкости Cat® в сборе (12 В) (2 насоса)


214-3742: Шайба бака

214-3742: Шайба бака

Бачок стеклоомывающей жидкости Cat® (2 насоса)


205-9607: Ветровое стекло кабины

205-9607: Ветровое стекло кабины

Ветровое стекло кабины оператора Cat®


Просмотр 1 - 16 из 23

Обозначение

Обозначение

Заводское исполнение

Эта запчасть разработана в соответствии с характеристиками производителя специально для вашего оборудования Cat.

В случае изменения конфигурации производителя продукт может не подойти к вашему оборудованию Cat. Перед покупкой проконсультируйтесь со своим дилером Cat, чтобы убедиться, что запчасть подходит для оборудования Cat в его текущем состоянии и предполагаемой конфигурации. Этот индикатор не может гарантировать совместимость со всеми запчастями.

Восстановленный

Не подлежит возврату

Набор

Заменен

Восстановленный

Не подлежит возврату

Набор

Заменен