Caterpillar Схемы деталей/узлов
Каталоги

Силовые регуляторы

Просмотр 2065 - 2080 из 2526

482-7736: КОНТРОЛЛЕР В СБОРЕ

482-7736: КОНТРОЛЛЕР В СБОРЕ

Cat® Programmed Governor Controller regulates engine speed, enhancing safety, fuel efficiency, and e


360-8887: БЛОК ЭЛЕКТРОННОГО УПРАВЛЕНИЯ

360-8887: БЛОК ЭЛЕКТРОННОГО УПРАВЛЕНИЯ

Cat® Diesel Exhaust Fluid Electronic Control Module manages diesel exhaust fluid injection, ensuring


361-3157: БЛОК УПРАВЛЕНИЯ

361-3157: БЛОК УПРАВЛЕНИЯ

Cat® Electronic Control Translucent Dial Monitor provides visual indicators and alerts for monitorin


482-0772: БЛОК УПРАВЛЕНИЯ

482-0772: БЛОК УПРАВЛЕНИЯ

Cat® Power Distribution Electronic Control Module is used to Control and direct electrical power flo


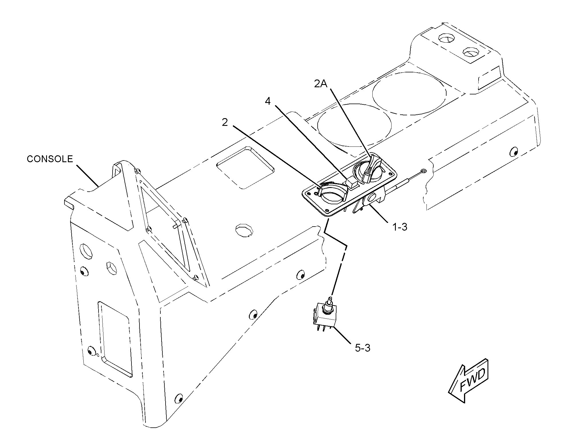
363-7316: КОНТРОЛЛЕР

363-7316: КОНТРОЛЛЕР

Cat® Operator Console Controller provides an interface for operators to control different functions,


Просмотр 2065 - 2080 из 2526

Обозначение

Обозначение

Заводское исполнение

Эта запчасть разработана в соответствии с характеристиками производителя специально для вашего оборудования Cat.

В случае изменения конфигурации производителя продукт может не подойти к вашему оборудованию Cat. Перед покупкой проконсультируйтесь со своим дилером Cat, чтобы убедиться, что запчасть подходит для оборудования Cat в его текущем состоянии и предполагаемой конфигурации. Этот индикатор не может гарантировать совместимость со всеми запчастями.

Восстановленный

Не подлежит возврату

Набор

Заменен

Восстановленный

Не подлежит возврату

Набор

Заменен