Пневматические и гидравлические системы пуска
Просмотр 305 - 320 из 344
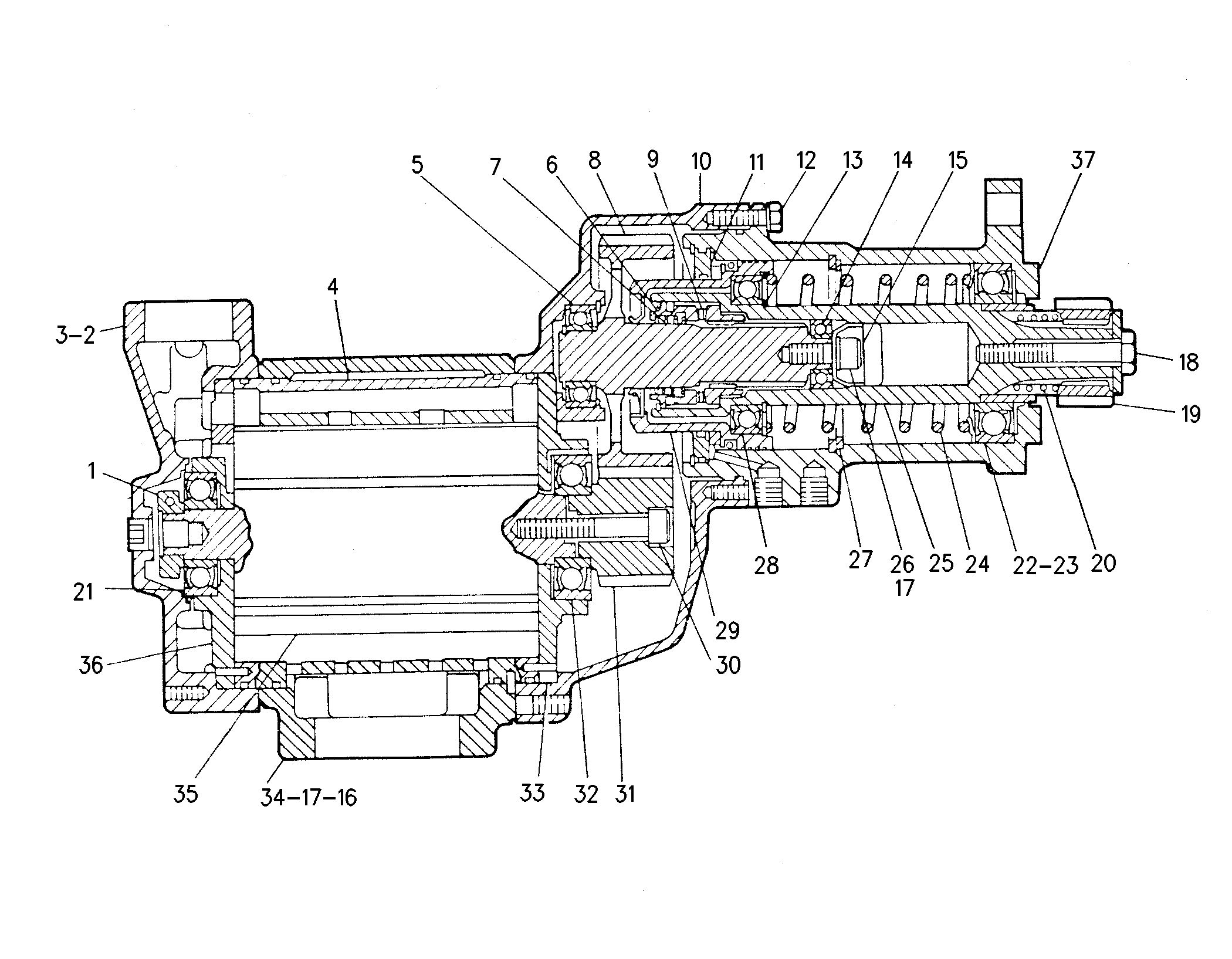
4W-0697: БЛОК ЭЛЕКТРОДВИГАТЕЛЯ
Cat® Engine Air Starting Motor with Reverse Rotation helps to initiate engine operation by convertin
Просмотр 305 - 320 из 344
Обозначение
Обозначение
Заводское исполнение
Эта запчасть разработана в соответствии с характеристиками производителя специально для вашего оборудования Cat.
В случае изменения конфигурации производителя продукт может не подойти к вашему оборудованию Cat. Перед покупкой проконсультируйтесь со своим дилером Cat, чтобы убедиться, что запчасть подходит для оборудования Cat в его текущем состоянии и предполагаемой конфигурации. Этот индикатор не может гарантировать совместимость со всеми запчастями.
Восстановленный
Не подлежит возврату
Набор
Заменен
Восстановленный
Не подлежит возврату
Набор
Заменен