Caterpillar Схемы деталей/узлов
Каталоги

Фонари и вспомогательные приспособления. Модель ASPHALT PAVER AP-655D

Просмотр 1 - 16 из 16

100-3245: Миниатюрная лампа на байонетном основании мощностью 4 Вт

100-3245: Миниатюрная лампа на байонетном основании мощностью 4 Вт

Лампа с прозрачным байонетным цоколем Cat® для указателей поворота и приборных панелей


115-1748: Миниатюрная лампа

115-1748: Миниатюрная лампа

Миниатюрная лампа Cat® (24 В) (клиновидный цоколь) (W3W)


116-5270: Красная лампа 0,03 А

116-5270: Красная лампа 0,03 А

Красная лампа Cat® 0,03 А, используемая в панели управления


116-6565: Блок освещения с байонетным зажимом 1/4

116-6565: Блок освещения с байонетным зажимом 1/4

Зажимная клемма Cat® с блоком освещения с резьбой 6–32 дюйма


316-6409: Светодиодное освещение приборной панели

316-6409: Светодиодное освещение приборной панели

Светодиодная лампа на приборной панели 10–32 В


9D-9161: Рассеиватель

9D-9161: Рассеиватель

Рассеиватель Cat® (зеленый)


9D-3127: Цоколь в сборе — сигнальная лампа

9D-3127: Цоколь в сборе — сигнальная лампа

Цоколь сигнальной лампы Cat® в сборе


9D-2868: Рассеиватель

9D-2868: Рассеиватель

Рассеиватель Cat® (красный)


8L-9801: Миниатюрная лампа

8L-9801: Миниатюрная лампа

Миниатюрная лампа Cat® (12 В) (байонетный цоколь)


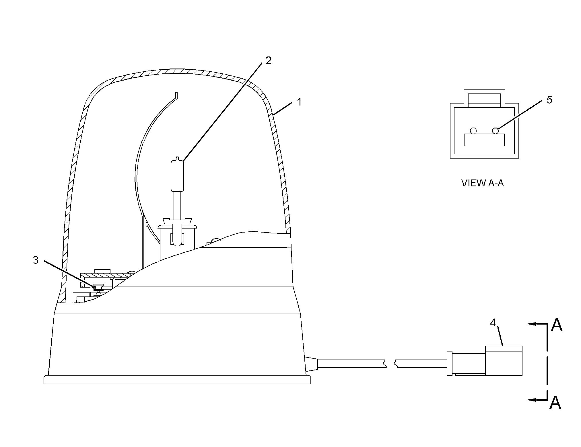
371-2241: Лампы предупредительного маячка 24 В

371-2241: Лампы предупредительного маячка 24 В

Оранжевая светодиодная лампа проблескового маячка Cat® 24 В


378-6901: Янтарная светодиодная стробоскопическая лампа

378-6901: Янтарная светодиодная стробоскопическая лампа

Янтарная светодиодная лампа предупредительного проблескового маячка Cat® улучшает видимость, обеспеч


389-5708: Рассеиватель

389-5708: Рассеиватель

Линза Cat® (желтый купол) (предупреждающий маяк)


395-2113: Сигнальная светодиодная лампа на 24 В

395-2113: Сигнальная светодиодная лампа на 24 В

Сигнальная светодиодная лампа Cat® на 24 В


Просмотр 1 - 16 из 16

Обозначение

Обозначение

Заводское исполнение

Эта запчасть разработана в соответствии с характеристиками производителя специально для вашего оборудования Cat.

В случае изменения конфигурации производителя продукт может не подойти к вашему оборудованию Cat. Перед покупкой проконсультируйтесь со своим дилером Cat, чтобы убедиться, что запчасть подходит для оборудования Cat в его текущем состоянии и предполагаемой конфигурации. Этот индикатор не может гарантировать совместимость со всеми запчастями.

Восстановленный

Не подлежит возврату

Набор

Заменен

Восстановленный

Не подлежит возврату

Набор

Заменен