FEAD и системы кожухов
Просмотр 769 - 784 из 826
438-3245: Crankshaft Rear Seal Adapter
Cat® Crankshaft Rear Seal Adapter is used to accurately install the crankshaft rear seal, ensuring o
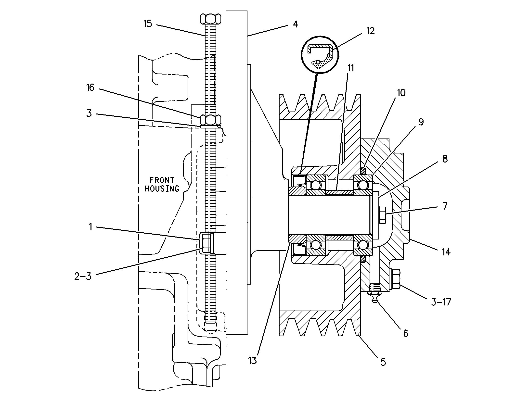
4P-0264: ПЕРЕХОДНИК В СБОРЕ
Cat® Crankshaft Damper Adapter is attached to the front of the crankshaft and absorbs the torsional
Просмотр 769 - 784 из 826
Обозначение
Обозначение
Заводское исполнение
Эта запчасть разработана в соответствии с характеристиками производителя специально для вашего оборудования Cat.
В случае изменения конфигурации производителя продукт может не подойти к вашему оборудованию Cat. Перед покупкой проконсультируйтесь со своим дилером Cat, чтобы убедиться, что запчасть подходит для оборудования Cat в его текущем состоянии и предполагаемой конфигурации. Этот индикатор не может гарантировать совместимость со всеми запчастями.
Восстановленный
Не подлежит возврату
Набор
Заменен
Восстановленный
Не подлежит возврату
Набор
Заменен