Caterpillar Схемы деталей/узлов
Каталоги

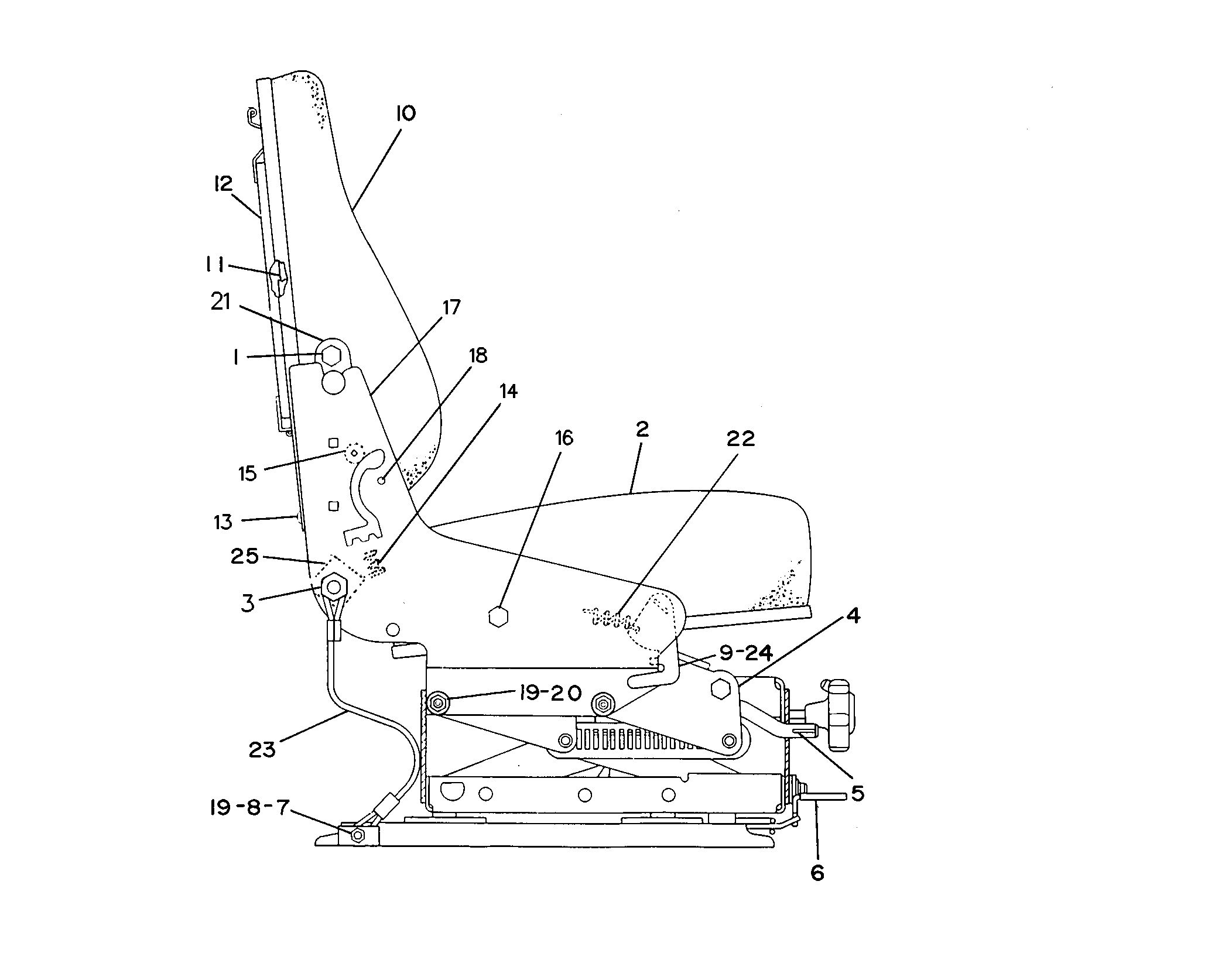
Салон кабины. Модель TRACK-TYPE TRACTOR D6M

Просмотр 1 - 16 из 18

8Y-4030: Ремень в сборе - сиденье

8Y-4030: Ремень в сборе - сиденье

Ремень безопасности в сборе Cat® (регулируемый)


4V-7872: РУКОЯТКА В СБОРЕ

4V-7872: РУКОЯТКА В СБОРЕ

Cat® Suspension Seat Weight Adjustment Knob helps operators achieve a comfortable seating experience


4V-8609: Кожух

4V-8609: Кожух

Кожух Cat® (покрытие подрессоренного сиденья)


6W-8502: Подвеска в сборе — сиденье

6W-8502: Подвеска в сборе — сиденье

Подвеска сиденья в сборе Cat® (механическое)


6W-8505: БЛОК РЕГУЛЯТОРА

6W-8505: БЛОК РЕГУЛЯТОРА

Cat® Suspension Seat Adjuster allows for the modification of the position and orientation of a seat


6W-9744: Подрессоренное сиденье в сборе

6W-9744: Подрессоренное сиденье в сборе

Подрессоренное сиденье в сборе Cat® (винил)


8R-2094: Подушка подрессоренного сиденья Reman

8R-2094: Подушка подрессоренного сиденья Reman

Подушка подрессоренного сиденья Cat® Reman, используемого на рабочем месте оператора


110-1130: Напольный коврик

110-1130: Напольный коврик

Напольный коврик Cat® (акустический)


8Y-4206: Подушка в сборе Cat® (задняя)

8Y-4206: Подушка в сборе Cat® (задняя)

Задняя подушка Cat® в сборе


136-9478: Обивка потолка

136-9478: Обивка потолка

Обивка потолка Cat®


124-7412: Напольный коврик

124-7412: Напольный коврик

Напольный коврик Cat® (акустический)


123-6392: Подушка в сборе

123-6392: Подушка в сборе

Подушка Cat® в сборе (подлокотник)


110-5177: Гильза

110-5177: Гильза

Гильза Cat® (звукоподавление)


Просмотр 1 - 16 из 18

Обозначение

Обозначение

Заводское исполнение

Эта запчасть разработана в соответствии с характеристиками производителя специально для вашего оборудования Cat.

В случае изменения конфигурации производителя продукт может не подойти к вашему оборудованию Cat. Перед покупкой проконсультируйтесь со своим дилером Cat, чтобы убедиться, что запчасть подходит для оборудования Cat в его текущем состоянии и предполагаемой конфигурации. Этот индикатор не может гарантировать совместимость со всеми запчастями.

Восстановленный

Не подлежит возврату

Набор

Заменен

Восстановленный

Не подлежит возврату

Набор

Заменен