Caterpillar Схемы деталей/узлов
Каталоги

Салон кабины. Модель SOIL COMPACTOR 825H

Просмотр 1 - 13 из 13

129-2577: КРЫШКА

129-2577: КРЫШКА

Cat® 637mm Long Cabin Door Plastic Cover used in Operator Cabin


129-2578: Крышка защелки, левая

129-2578: Крышка защелки, левая

Крышка защелки левой двери кабины Cat®, пластик АБС, цвет серый сланец


170-0971: Подушка в сборе

170-0971: Подушка в сборе

Подушка в сборе Cat®


174-2407: Изоляция

174-2407: Изоляция

Изоляция Cat® (звукоподавление) (крыша кабины)


174-2408: Изоляция

174-2408: Изоляция

Изоляция Cat® (звукоизоляция)


8Y-5746: Пепельница длиной 117,9 мм

8Y-5746: Пепельница длиной 117,9 мм

Пепельница Cat® длиной 117,9 мм, используемая на консоли управления


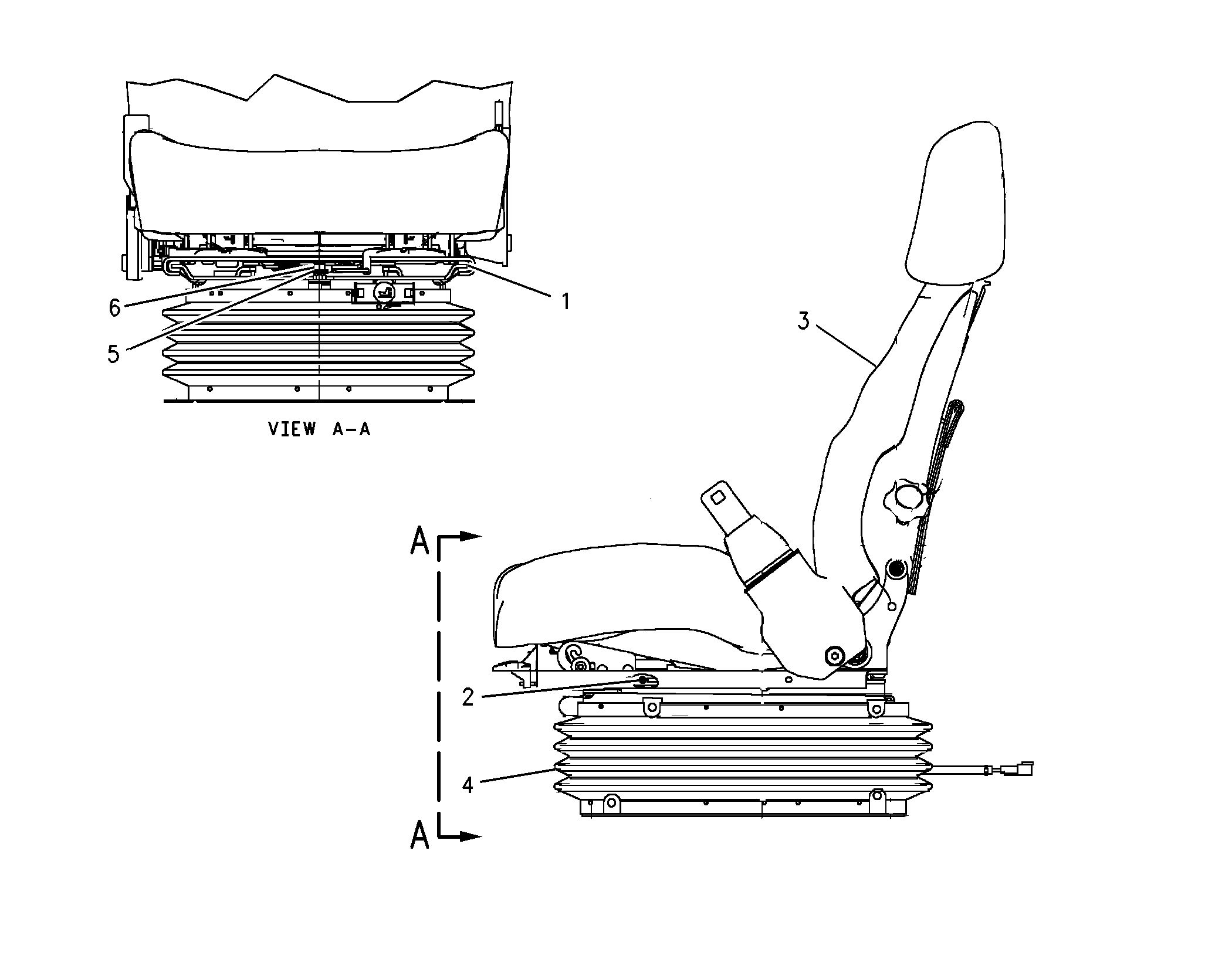
443-8104: Сиденье с подвеской

443-8104: Сиденье с подвеской

Подрессоренное сиденье Cat® в сборе (ткань, 24 В)


4E-6335: Подушка левая

4E-6335: Подушка левая

Подушка Cat® (левая) (рычаг)


4E-6446: Шестигранный латунный направляющий винт с резьбой M16x2

4E-6446: Шестигранный латунный направляющий винт с резьбой M16x2

Шестигранный латунный винт Cat® с головкой для поддержки рулевого управления.


4E-6526: Подлокотник в сборе

4E-6526: Подлокотник в сборе

Подлокотник Cat® в сборе


Просмотр 1 - 13 из 13

Обозначение

Обозначение

Заводское исполнение

Эта запчасть разработана в соответствии с характеристиками производителя специально для вашего оборудования Cat.

В случае изменения конфигурации производителя продукт может не подойти к вашему оборудованию Cat. Перед покупкой проконсультируйтесь со своим дилером Cat, чтобы убедиться, что запчасть подходит для оборудования Cat в его текущем состоянии и предполагаемой конфигурации. Этот индикатор не может гарантировать совместимость со всеми запчастями.

Восстановленный

Не подлежит возврату

Набор

Заменен

Восстановленный

Не подлежит возврату

Набор

Заменен