Caterpillar Схемы деталей/узлов
Каталоги

Кабины. Модель LANDFILL COMPACTOR 836H

Просмотр 17 - 32 из 98

165-5575: ДВЕРЬ ЛЕВАЯ В СБОРЕ

165-5575: ДВЕРЬ ЛЕВАЯ В СБОРЕ

Cat® Left Hand Side Cab Door provides access to the equipment cab and ensures safety and convenience


103-1122: Крепление защелки двери кабины

103-1122: Крепление защелки двери кабины

Крепление для защелки стекла правой двери кабины Cat®


328-2264: Электродвигатель стеклоочистителя в сборе

328-2264: Электродвигатель стеклоочистителя в сборе

Стеклоочиститель ветрового стекла Cat® с электродвигателем (24 В) (передний)


204-9532: Корпус в сборе

204-9532: Корпус в сборе

Кожух Cat® в сборе (ОВКВ)


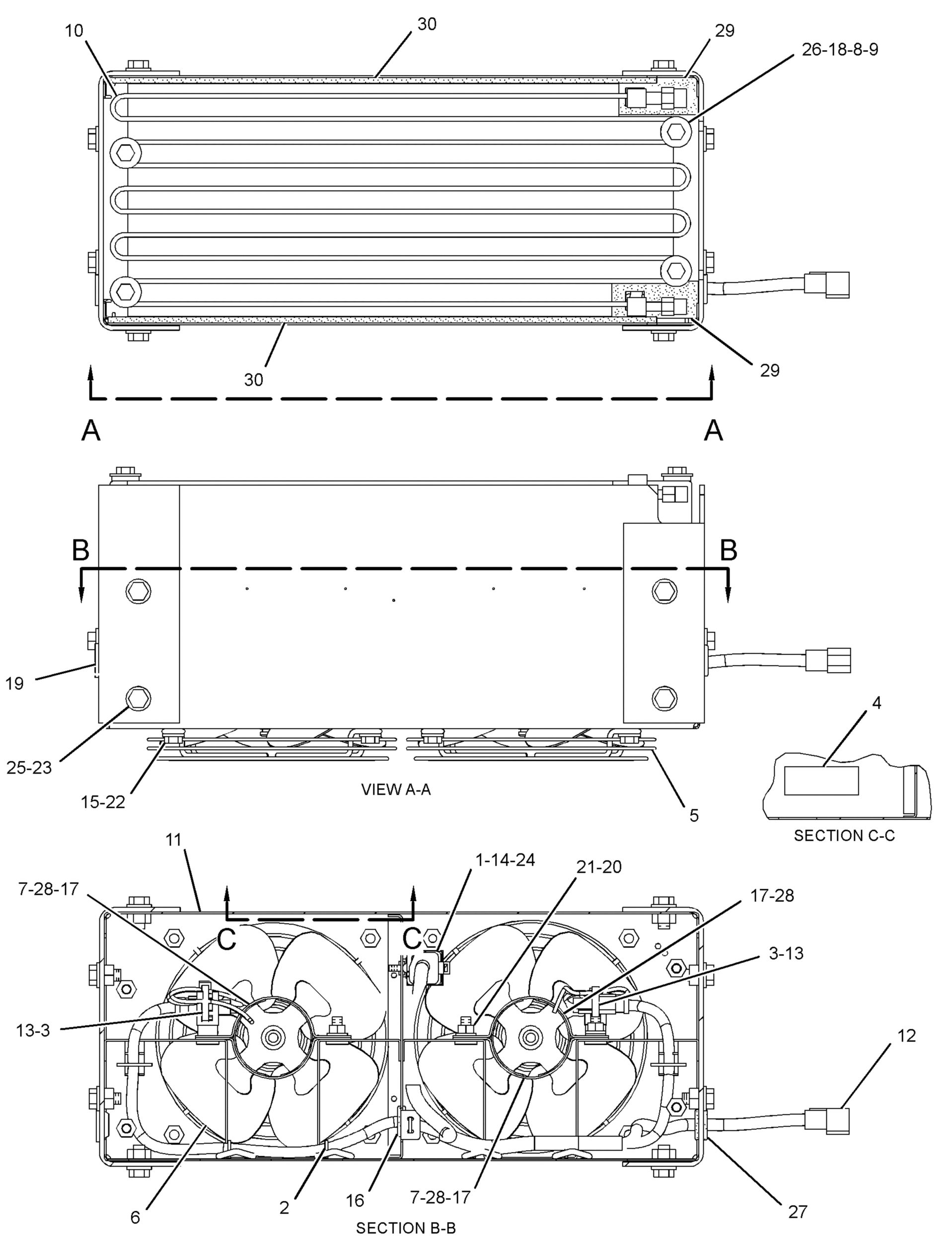
297-0175: Группа конденсаторов (основная)

297-0175: Группа конденсаторов (основная)

Группа конденсаторов Cat® (основная)(2 вентилятора)


111-1353: Стальная дверная ручка с защелкой

111-1353: Стальная дверная ручка с защелкой

Стальная дверная ручка с защелкой Cat® для кабины


10R-5644: БЛОК ЭЛЕКТРОННОГО УПРАВЛЕНИЯ

10R-5644: БЛОК ЭЛЕКТРОННОГО УПРАВЛЕНИЯ

Cat Reman Electronic Control Module (ECM) (A4M1V4.5 FF)


241-4855: Кулисный переключатель с подсветкой, 24 В

241-4855: Кулисный переключатель с подсветкой, 24 В

Автоматический кулисный переключатель отвала Cat® 24 В


183-7228: Изоляция

183-7228: Изоляция

Изоляция Cat® (моторный отсек)


209-5018: Защелка на двери окна кабины

209-5018: Защелка на двери окна кабины

Защелка двери окна кабины Cat® используемая для защиты от опрокидывания Закрытой конструкции


361-1291: ПЛАСТИНА В СБОРЕ

361-1291: ПЛАСТИНА В СБОРЕ

Cat® Air Conditioner Evaporator Coil Steel Cover Plate is used to protect the evaporator coil from h


107-4399: Клапан

107-4399: Клапан

Клапан Cat®


Просмотр 17 - 32 из 98

Обозначение

Обозначение

Заводское исполнение

Эта запчасть разработана в соответствии с характеристиками производителя специально для вашего оборудования Cat.

В случае изменения конфигурации производителя продукт может не подойти к вашему оборудованию Cat. Перед покупкой проконсультируйтесь со своим дилером Cat, чтобы убедиться, что запчасть подходит для оборудования Cat в его текущем состоянии и предполагаемой конфигурации. Этот индикатор не может гарантировать совместимость со всеми запчастями.

Восстановленный

Не подлежит возврату

Набор

Заменен

Восстановленный

Не подлежит возврату

Набор

Заменен