Caterpillar Схемы деталей/узлов
Каталоги

Кабины. Модель WHEEL DOZER 844H

Просмотр 33 - 48 из 55

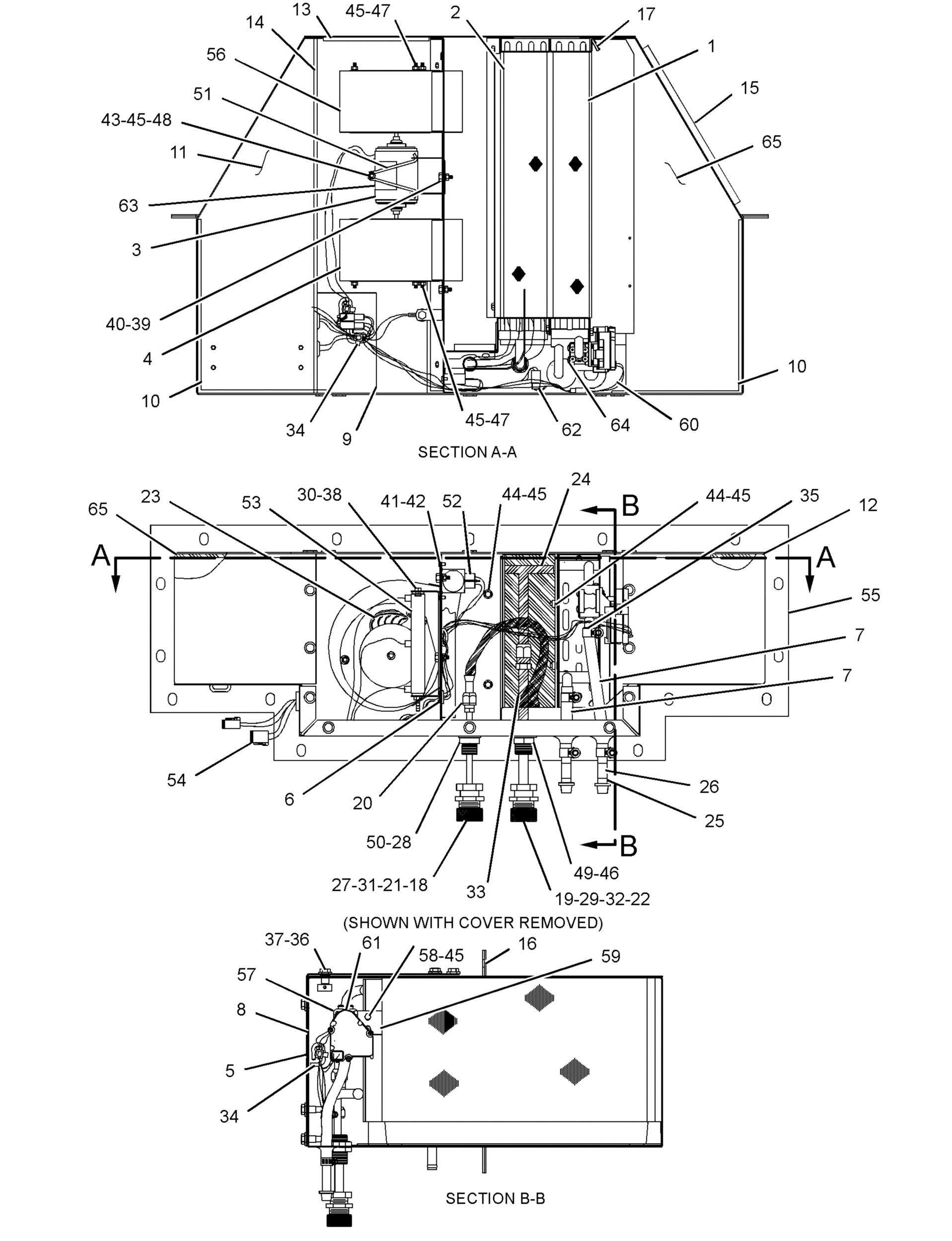
123-8576: Блок кондиционера-воздух

123-8576: Блок кондиционера-воздух

Блок кондиционера воздуха Cat® (базовый)


123-8715: ВОЗДУХОВОД

123-8715: ВОЗДУХОВОД

Cat® Cabin Air Duct channels and regulates the flow of air within the equipment cabin


134-2552: Ступень лестницы, длина 85 мм

134-2552: Ступень лестницы, длина 85 мм

Лестничная ступенька Cat® обеспечивает безопасный доступ в кабину оператора и облегчает задачи техни


135-5154: Монтажный кронштейн лестницы толщиной 12 мм

135-5154: Монтажный кронштейн лестницы толщиной 12 мм

Монтажный кронштейн Cat® толщиной 12 мм для лестницы для водителя


190-3445: Электродвигатель стеклоочистителя в сборе

190-3445: Электродвигатель стеклоочистителя в сборе

Стеклоочиститель ветрового стекла с электродвигателем Cat® в сборе (24 В) (правый передний)


190-3446: Электродвигатель стеклоочистителя в сборе

190-3446: Электродвигатель стеклоочистителя в сборе

Стеклоочиститель ветрового стекла с электродвигателем Cat® в сборе (24 В) (левый передний)


206-1750: Ремень в сборе - сиденье

206-1750: Ремень в сборе - сиденье

Ремень Cat® в сборе (с инерционной катушкой)


20R-8179: Электронный блок управления (ЭБУ)

20R-8179: Электронный блок управления (ЭБУ)

Электронный блок управления Cat® (ЭБУ)


Просмотр 33 - 48 из 55

Обозначение

Обозначение

Заводское исполнение

Эта запчасть разработана в соответствии с характеристиками производителя специально для вашего оборудования Cat.

В случае изменения конфигурации производителя продукт может не подойти к вашему оборудованию Cat. Перед покупкой проконсультируйтесь со своим дилером Cat, чтобы убедиться, что запчасть подходит для оборудования Cat в его текущем состоянии и предполагаемой конфигурации. Этот индикатор не может гарантировать совместимость со всеми запчастями.

Восстановленный

Не подлежит возврату

Набор

Заменен

Восстановленный

Не подлежит возврату

Набор

Заменен